Запчасти John Deere 90B 8 - SWITCH PANEL FUSES 80 - INSTRUMENTS, SWITCHES, GAUGES AND WIRING

Схема запчастей John Deere 90B - 8 - SWITCH PANEL FUSES 80 - INSTRUMENTS, SWITCHES, GAUGES AND WIRING
FIT
1:1
100%

Артикул

Название

Примечание

Количество

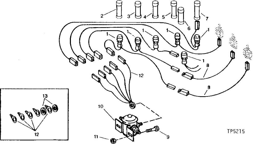
1

AT164924

FUSE HOLDER

(SUB FOR AT14193) (ALSO ORDER T82427)

6шт.

T82427

WASHER

(USE WITH FUSE HOLDER) (NOT ILLUSTRATED)

1шт.

2

AT63171

FUSE

CONDENSER FAN, (SUB FOR AH84167, THIS APPLICATION)

1шт.

3

AH76113

FUSE

20 AMP., HOUSE LOCK

1шт.

4

AH76113

FUSE

20 AMP., CAB CIRCULATING FAN

1шт.

5

AH76113

FUSE

20 AMP., BLOWER

1шт.

6

AH76113

FUSE

20 AMP., STARTER

1шт.

7

AH76113

FUSE

20 AMP., TWO SPEED

1шт.

8

AT41412

WIRING LEAD

2шт.

9

19H1914

CAP SCREW

1/4" X 1"

2шт.

10

AR73144

RELAY

ACCESSORY (SUB FOR AT142305, ALSO ORDER (2) 14H785 AND (2) 12M7065) (SUB FOR AT74743 AND AT68100)

1шт.

11

14H786

NUT

1/4"

2шт.

12M7056

LOCK WASHER

8 MM, (SUB FOR 12M7065)

2шт.

12A

T57655

ELEC. CONNECTOR TERMINAL

MALE, (SUB AT68008, THIS APPLICATION)

6шт.

12B

AT68008

WIRING HARNESS

1шт.

13

12H303

LOCK WASHER

5/16"

2шт.

Выбрано товаров: 16