Запчасти John Deere 90B 27 - CAMSHAFT AND GEAR 10 - ENGINE

Схема запчастей John Deere 90B - 27 - CAMSHAFT AND GEAR 10 - ENGINE
FIT
1:1
100%

Артикул

Название

Примечание

Количество

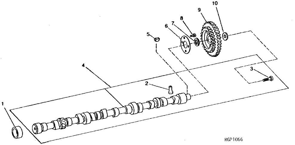
1

R46903

BUSHING

4шт.

2

R52773

CAM FOLLOWER

12шт.

3

19H1721

CAP SCREW

1/2" X 1-1/2"

1шт.

19H2473

CAP SCREW

1/2" X 1-3/4", (SUB FOR 19H1777)

1шт.

R93238

CAP SCREW

12.700 X 50.800 MM (1/2" X 2") (USE WITH R71599 OR R71531) (SUB FOR R79850, THIS APPLICATION)

1шт.

4

AR100384

CAMSHAFT

(MARKED R42352, R43677, R57289, R59420, R61150 OR R71531) (SUB AR100385, THIS APPLICATION) (SUB FOR AR63280, AR69270, AR71709 OR AR74144)

1шт.

AR100385

KIT

(MARKED R64086 OR R71529) (SUB FOR AR79610)

1шт.

5

26H72

SHAFT KEY

1/8" X 5/8"

1шт.

6

R42355

THRUST WASHER

1шт.

7

R42356

WASHER

1шт.

8

19H1813

CAP SCREW

5/16" X 5/8"

4шт.

9

AR87700

GEAR

(SUB FOR AR55487, AR78345 OR AR88905) (MARKED R67381 OR R67382)

1шт.

10

R35256

WASHER

1шт.

Выбрано товаров: 0