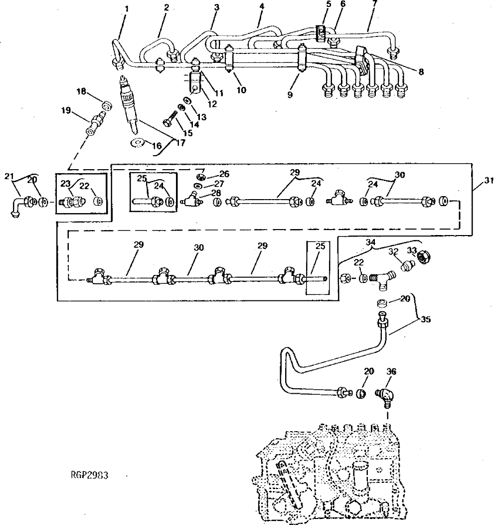
Запчасти John Deere 90C 2 - FUEL INJECTION NOZZLES AND LINES 413 - ENGINE 4

Схема запчастей John Deere 90C - 2 - FUEL INJECTION NOZZLES AND LINES 413 - ENGINE 4
FIT
1:1
100%

Артикул

Название

Примечание

Количество

1

AR100217

FUEL LINE

NO. 6

1шт.

2

AR100216

FUEL LINE

NO. 5

1шт.

3

AR100215

FUEL LINE

NO. 4

1шт.

4

AR100214

FUEL LINE

NO. 3

1шт.

5

R59305

STRAP

2шт.

R58186

CLAMP

4шт.

R61144

STRAP

2шт.

21H1463

CAP SCREW

0.190" X 7/8"

2шт.

6

AR100213

FUEL LINE

NO. 2

1шт.

7

AR100212

FUEL LINE

NO. 1

1шт.

8

R59298

STRAP

1шт.

R59297

HALF CLAMP

2шт.

R61145

STRAP

1шт.

21H1463

CAP SCREW

0.190" X 7/8"

2шт.

9

R59298

STRAP

1шт.

R71212

CLAMP

1шт.

R59297

HALF CLAMP

2шт.

R61145

STRAP

1шт.

R71398

SCREW

2шт.

10

R59305

STRAP

1шт.

R58186

CLAMP

1шт.

R74030

CLAMP

1шт.

R74804

CLAMP

1шт.

R61144

STRAP

1шт.

R71398

SCREW

1шт.

11

R59298

STRAP

1шт.

R59297

HALF CLAMP

2шт.

21H1463

CAP SCREW

0.190" X 7/8"

2шт.

12

RE47120

ABSORBER

(SUB FOR RE12766)

1шт.

13

24H1884

WASHER

13/32" X 13/16" X 0.120"

1шт.

14

12M7066

LOCK WASHER

10 MM, (NO LONGER REQUIRED)

1шт.

15

19M7166

CAP SCREW

M10 X 20

1шт.

16

R64840

WASHER

1шт.

17

AR74665

INJECTION NOZZLE

(ROBERT BOSCH)

6шт.

SE500103

INJECTION NOZZLE

(REMANUFACTURED) (PKG OF 6)

1шт.

SE501112

INJECTION NOZZLE

(REMANUFACTURED) (PKG OF 1)

6шт.

18

R59294

SEALING RING

(USE WITH R59293 OR R83558)

6шт.

R77551

O-RING

(USE WITH R87082)

6шт.

19

R59293

FITTING

(SUB (6) R87082 AND (6) R77551)

6шт.

R83558

FITTING

(SUB R87082 AND R77551)

6шт.

R87082

FITTING

(ALSO ORDER R77551)

6шт.

20

R51936

SEALING WASHER

3шт.

21

AR104650

FUEL LINE

LEAK-OFF (762A,690C,693C)

1шт.

22

R79138

SLEEVE

(NO LONGER REQUIRED) (690C,693C,850B)

2шт.

R79138

SLEEVE

1шт.

23

AR87443

UNION FITTING

(NO LONGER REQUIRED) (690C,693C,850B)

1шт.

24

R51936

SEALING WASHER

(NO LONGER REQUIRED) (690C,693C)

12шт.

R51936

SEALING WASHER

11шт.

25

RE23319

FUEL LINE

(SUB FOR RE15806)

2шт.

RE23319

FUEL LINE

(FRONT END)

1шт.

26

R79604

TUBE NUT

6шт.

27

R79605

WASHER

6шт.

28

R79606

TEE FITTING

6шт.

29

RE15807

FUEL LINE

3шт.

30

RE15808

FUEL LINE

2шт.

31

RE27786

FUEL LINE

(ALSO ORDER R79138 AND RE23319) (SUB FOR RE15805 OR RE21103)

1шт.

32

AR85519

PLUG

1шт.

33

R51937

TUBE NUT

(USE WITH AR85519)

1шт.

34

AR88120

TEE FITTING

1шт.

35

RE10527

FUEL LINE

1шт.

36

R67364

ELBOW FITTING

1шт.

Выбрано товаров: 61