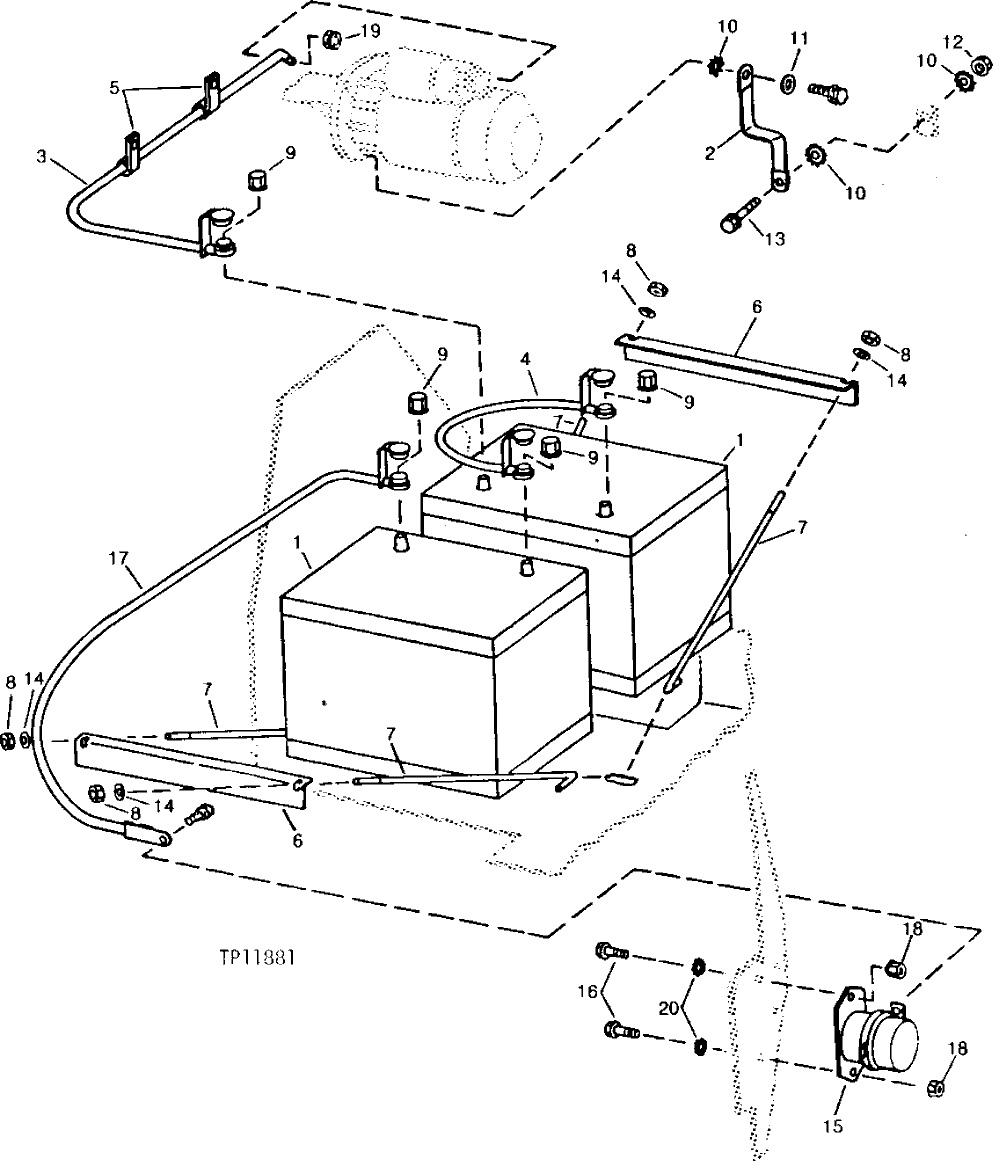
Запчасти John Deere 90C 2 - BATTERIES AND BATTERY CABLES 1671 - ELECTRICAL SYSTEMS 16

Схема запчастей John Deere 90C - 2 - BATTERIES AND BATTERY CABLES 1671 - ELECTRICAL SYSTEMS 16
FIT
1:1
100%

Артикул

Название

Примечание

Количество

1

TY21767

DRY CHARGED BATTERY

(SUB FOR AT77811) (SUB FOR TY6095) ( TY6095 USE IF AVAILABLE) (SUB TY21767)

2шт.

TY21767

DRY CHARGED BATTERY

(12 VOLT, BCI 31, 750 CCA)

2шт.

2

AT47069

GROUND CABLE

1шт.

3

AT79386

CABLE

1шт.

4

AT58974

BATTERY CABLE

1шт.

5

T38377

CLAMP

2шт.

6

T79470

ANGLE

2шт.

7

T79471

HOOK BOLT

4шт.

8

14M7273

NUT

M8

4шт.

9

T57553

NUT

4шт.

10

12M7033

LOCK WASHER

10.500 MM

3шт.

11

24M7028

WASHER

10.500 X 20 X 2 MM

1шт.

12

14M7296

FLANGE NUT

M10

1шт.

13

19M7786

SCREW

M10 X 30

1шт.

14

24M7036

WASHER

9 X 16 X 1.600 MM

4шт.

15

4034634

RELAY

(SUB FOR TH100527)

1шт.

16

19M7866

SCREW

M8 X 20

2шт.

17

AT79401

CABLE

1шт.

18

14M7289

NUT

M16

2шт.

19

14H1040

NUT

1/2"

1шт.

14H631

NUT

0.190"

1шт.

14H732

NUT

3/8"

1шт.

20

12M7032

LOCK WASHER

8.400 MM

2шт.

Выбрано товаров: 23