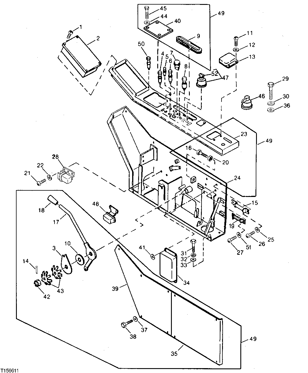
Запчасти John Deere 90C 4 - CONSOLE AND SWITCHES 1810 - OPERATORS STATION 18

Схема запчастей John Deere 90C - 4 - CONSOLE AND SWITCHES 1810 - OPERATORS STATION 18
FIT
1:1
100%

Артикул

Название

Примечание

Количество

1

21M7326

SCREW

M6 X 20, (SUB FOR TH100573)

4шт.

2

PANEL

( AT82704 NO LONGER AVAILABLE, ORDER COMPONENTS)

1шт.

3

4053155

PLATE

(SUB FOR TH100563)

1шт.

4

4009556

SWITCH

(SUB FOR TH100576) WIPER

1шт.

5

AH87806

SWITCH

SWING BRAKE AND PROPEL TWO-SPEED, (SUB FOR TH103032)

2шт.

6

4110106

SWITCH

(SUB FOR TH100575) WORK LIGHT BLACK WITH WHITE SYMBOL

1шт.

7

4155755

SWITCH

(SUB FOR TH101582) START AID YELLOW

1шт.

8

AT78633

HOUSING

(SUB FOR 4115360) (ALSO ORDER AR60937 AND AT78634 AND AU42809)

1шт.

9

4109825

ISOLATOR

(SUB FOR T81280)

1шт.

10

428770

WASHER

(SUB FOR TH100562)

1шт.

11

21M7246

SCREW

M6 X 16, (SUB FOR TH100583)

2шт.

12

24M7054

WASHER

6.400 X 12 X 1.600 MM, (SUB FOR TH100584)

2шт.

13

4123095

FUSE BOX

(SUB FOR TH100582)

1шт.

AH84167

FUSE

(30-AMP)

1шт.

AT39227

FUSE

(15-AMP)

7шт.

14

11M7087

COTTER PIN

4 X 40 MM, (SUB FOR TH100566) (SUB FOR 11M7023)

1шт.

15

AU42809

RESISTOR

(SUB FOR AT82708) LIGHTER

1шт.

16

TH100567

BOLT

1шт.

17

8022059

LEVER

(SUB FOR AT82715)

1шт.

18

4162336

GRIP

(SUB FOR TH100561)

1шт.

19

4155754

RESISTOR

(SUB FOR TH101583) ALTERNATOR EXCITATION

1шт.

20

14M7274

NUT

M10

1шт.

21

21M7288

SCREW

M6 X 10, (SUB FOR TH100547)

4шт.

22

12M7006

LOCK WASHER

6 MM, (SUB FOR TH100548)

4шт.

23

6006557

PANEL

(SUB FOR AT82716)

1шт.

24

6006888

CONSOLE

(SUB FOR AT82718)

1шт.

25

12M7006

LOCK WASHER

6 MM, (SUB FOR TH100580)

2шт.

26

21M7288

SCREW

M6 X 10, (SUB FOR TH100579)

4шт.

27

21M7394

SCREW

M3 X 10

2шт.

28

4357038

RELAY

(SUB FOR AT82709) SWING BRAKE

1шт.

29

TH103471

SCREW

5шт.

30

21M7277

SCREW

M6 X 25, (SUB FOR TH103469)

5шт.

31

19M7402

CAP SCREW

M10 X 25

6шт.

32

12M7066

LOCK WASHER

10 MM, (SUB FOR TH100417)

6шт.

33

24M7028

WASHER

10.500 X 20 X 2 MM, (SUB FOR TH100263)

6шт.

34

4129244

MICROPROCESSOR

(SUB FOR TH100592)

1шт.

35

7015609

COVER

(SUB FOR AT82717)

1шт.

36

24M7054

WASHER

6.400 X 12 X 1.600 MM, (SUB FOR TH100584)

5шт.

37

12M7006

LOCK WASHER

6 MM, (SUB FOR TH100548)

12шт.

24M7054

WASHER

6.400 X 12 X 1.600 MM, (SUB FOR TH100278)

12шт.

38

19M7923

CAP SCREW

M6 X 12, (SUB FOR 19M6614)

12шт.

39

2018892

COVER

(SUB FOR T81278)

1шт.

40

3028708

COVER

(SUB FOR T81279)

1шт.

41

12M7006

LOCK WASHER

6 MM

4шт.

42

M631619

NUT

(SUB FOR TH100565)

1шт.

43

4502974

WASHER

(SUB FOR TH100564)

2шт.

44

21M7277

SCREW

M6 X 25, (SUB FOR TH103469)

4шт.

45

12M7006

LOCK WASHER

6 MM, (SUB FOR TH103470)

4шт.

46

4173490

SWITCH

(SUB FOR AT82707) BLOWER

1шт.

21M7295

SCREW

M4 X 6

5шт.

47

4237505

SWITCH

(SUB FOR TH102139, TH108551 OR 4186744) STARTING

1шт.

48

4505392

RELAY

(SUB FOR TH100585) HORN

1шт.

49

AT82714

CONSOLE

RIGHT

1шт.

50

4266984

SWITCH

(SUB FOR TH100574) BUZZER, STOP

1шт.

51

12H233

LOCK WASHER

3.175 MM, (SUB FOR 12M7048)

2шт.

52

4112457

KEY

(USE WITH TH102139) (SUB FOR TH103383)

1шт.

AT194969

KEY

(SUB FOR TH108552 AND AT147803) (USE WITH TH108551, 4186744 OR 4237505)

1шт.

Выбрано товаров: 57