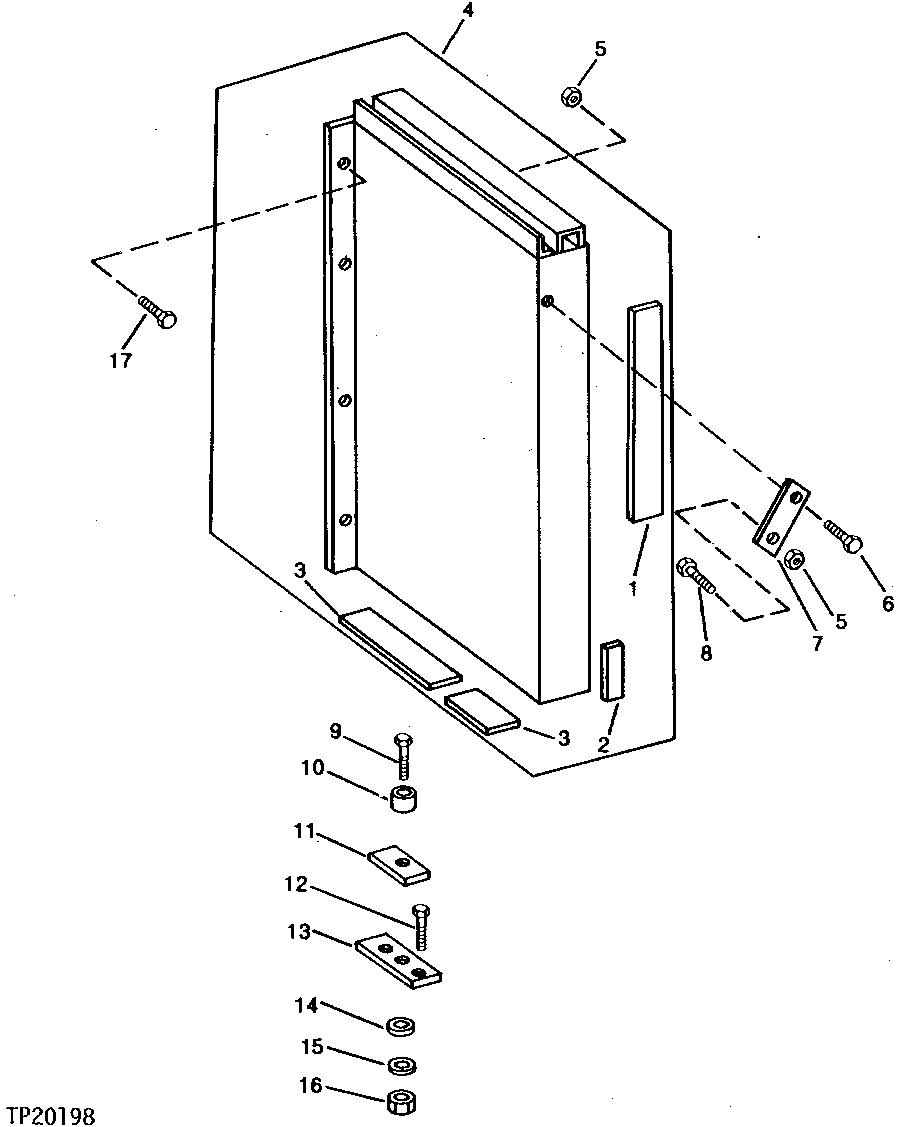
Запчасти John Deere 90C 2 - HYDRAULIC OIL COOLER 2160 - MAIN HYDRAULIC SYSTEM 21

Схема запчастей John Deere 90C - 2 - HYDRAULIC OIL COOLER 2160 - MAIN HYDRAULIC SYSTEM 21
FIT
1:1
100%

Артикул

Название

Примечание

Количество

1

ISOLATOR

(MAKE FROM AT66778 BULK MATERIAL, CUT TO LENGTH)

ARшт.

2

ISOLATOR

(MAKE FROM T65320 BULK MATERIAL, CUT TO LENGTH)

ARшт.

3

ISOLATOR

(MAKE FROM AT56772 BULK MATERIAL, CUT TO LENGTH)

ARшт.

ISOLATOR

(MAKE FROM AT56772 BULK MATERIAL, CUT TO LENGTH)

ARшт.

4

AT78019

OIL COOLER

(ALSO ORDER AT66778 - CUT TO LENGTH) (SUB FOR AT78018)

1шт.

AT66778

WEATHERSTRIP

(CUT TO LENGTH)

1шт.

5

14M7296

FLANGE NUT

M10

2шт.

6

19M8162

SCREW

M10 X 40

1шт.

7

H80636

STRAP

1шт.

8

19M8162

SCREW

M10 X 40

1шт.

9

03M7201

BOLT

M12 X 45

1шт.

10

M43318

BUSHING

1шт.

11

U45318

STRAP

1шт.

12

19M7786

SCREW

M10 X 30

2шт.

13

T78583

STRAP

1шт.

24M7296

WASHER

10.500 X 30 X 2.500 MM, BETWEEN T78583 AND GRILLE SUPPORT PLATE

2шт.

14

U45315

WASHER

1шт.

15

24H1204

WASHER

9/16" X 1-15/32" X 0.075"

1шт.

16

14M7299

FLANGE NUT

M12

1шт.

17

19M7784

SCREW

M10 X 20

4шт.

Выбрано товаров: 20