Запчасти John Deere 90C 4 - SWING MOTOR LINES AND RETURN HOSE 4360 - SWING, ROTATION OR PIVOTING SYSTEM 43

Схема запчастей John Deere 90C - 4 - SWING MOTOR LINES AND RETURN HOSE 4360 - SWING, ROTATION OR PIVOTING SYSTEM 43
FIT
1:1
100%

Артикул

Название

Примечание

Количество

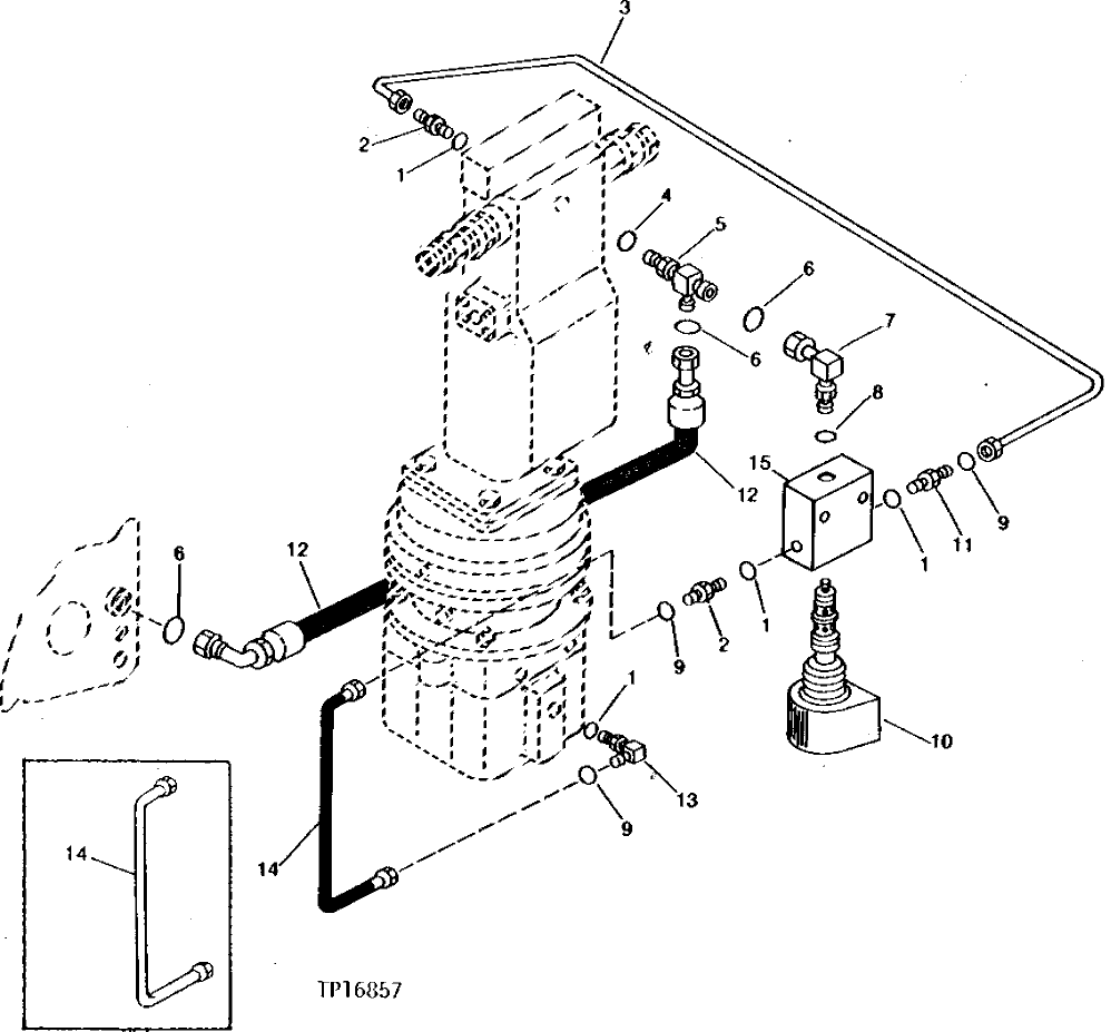
1

T70177

O-RING

4шт.

2

38H1160

ADAPTER FITTING

2шт.

3

AT78039

OIL LINE

1шт.

4

R47157

O-RING

1шт.

5

38H1026

TEE FITTING

1шт.

6

T77858

O-RING

3шт.

7

38H1371

ELBOW FITTING

1шт.

8

R47150

O-RING

1шт.

9

T77613

O-RING

4шт.

10

RE22399

SOLENOID VALVE

(SUB FOR AT66691)

1шт.

11

AT81867

CHECK VALVE

1шт.

12

AT79333

HYDRAULIC HOSE - FABRICATE

1-3/16" X 1 170 MM (46") X 1-3/16"

1шт.

13

38H1004

ELBOW FITTING

1шт.

14

AT81927

HYDRAULIC HOSE - FABRICATE

(SUB FOR AT78040)

1шт.

AT81927

HYDRAULIC HOSE - FABRICATE

11/16" X 380 MM (15") X 11/16"

1шт.

15

T107202

HOUSING

(SUB FOR T78580 ALONG WITH (2) 24M7055)

1шт.

24M7055

WASHER

8.400 X 16 X 1.600 MM

2шт.

Выбрано товаров: 17