Запчасти John Deere 90C 17 - COUNTERBALANCE VALVES 260 - AXLES AND SUSPENSION SYSTEMS 2

Схема запчастей John Deere 90C - 17 - COUNTERBALANCE VALVES 260 - AXLES AND SUSPENSION SYSTEMS 2
FIT
1:1
100%

Артикул

Название

Примечание

Количество

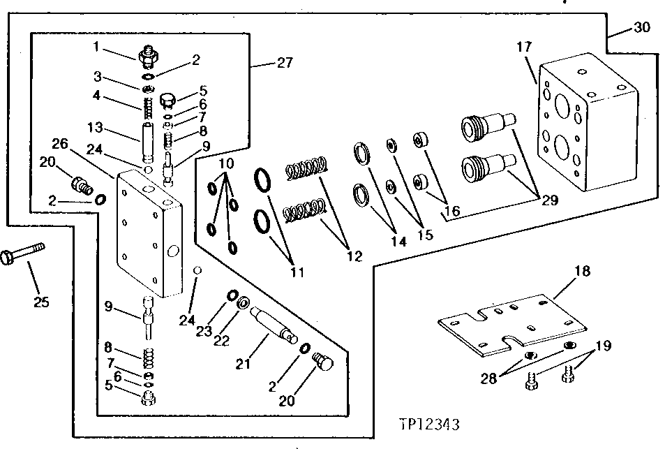
1

38H1173

ADAPTER FITTING

90°, ADJUSTABLE

1шт.

2

T70177

O-RING

3шт.

3

24H1283

WASHER

7/32" X 1/2" X 0.049"

1шт.

4

T41179

SPRING

1шт.

5

R27216

DRAIN PLUG

2шт.

6

R26287

O-RING

2шт.

7

T41181

DISK

2шт.

8

T44090

SPRING

2шт.

9

T58121

POPPET

2шт.

10

A3917R

O-RING

4шт.

11

R1138R

O-RING

34.519 X 3.531 MM (1-23/64" X 0.139") (SUB FOR N131820, THIS APPLICATION)

2шт.

12

T26072

SPRING

2шт.

13

T58122

POPPET

1шт.

14

T42775

PISTON RING

2шт.

15

24H1136

WASHER

11/32" X 11/16" X 0.065"

10шт.

16

N123047

ORIFICE

2шт.

17

HOUSING

( T41183 USE IF AVAILABLE)

1шт.

18

T41650

BRACKET

1шт.

19

19H2676

CAP SCREW

3/8" X 1"

7шт.

20

R27218

FITTING PLUG

2шт.

21

T51166

SEAT

1шт.

22

R31136

BACK-UP RING

1шт.

23

R10093

O-RING

1шт.

24

R26552

BALL

2шт.

25

19H1726

CAP SCREW

3/8" X 2-1/4"

6шт.

26

COVER

(SUB AT80823)

1шт.

27

AT80823

COVER

(MARKED T65306)

1шт.

28

24H1308

WASHER

13/32" X 1" X 0.134"

7шт.

29

AT75841

POPPET

2шт.

30

VALVE

L.H. ( AT80822 USE IF AVAILABLE)

1шт.

VALVE

R.H. ( AT80824 USE IF AVAILABLE)

1шт.

31

A4742R

BALL

(PRESS INTO .148 HOLES) (NOT ILLUSTRATED)

3шт.

Выбрано товаров: 32