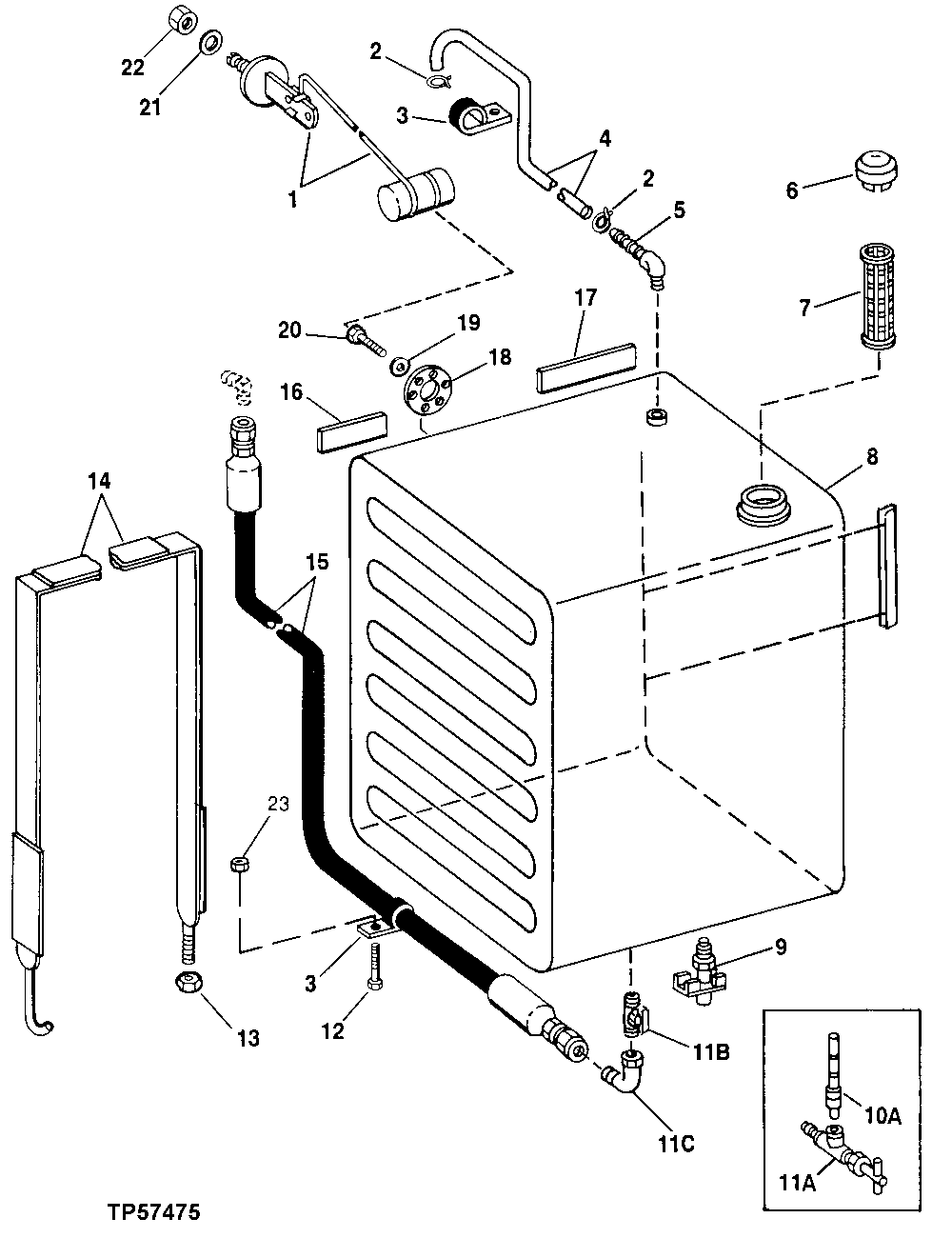
Запчасти John Deere 90CR 2 - FUEL TANK AND FUEL HOSES 560 - ENGINE AUXILIARY SYSTEMS 5

Схема запчастей John Deere 90CR - 2 - FUEL TANK AND FUEL HOSES 560 - ENGINE AUXILIARY SYSTEMS 5
FIT
1:1
100%

Артикул

Название

Примечание

Количество

1

AT105647

SENDER

(SUB FOR AT77506)

1шт.

2

TY22462

CLAMP

(SUB FOR AR48236)

2шт.

3

H75541

CLAMP

(SUB FOR R34557)

3шт.

4

HOSE

(MAKE FROM T79477 BULK MATERIAL, CUT TO LENGTH)

ARшт.

5

T28078

ELBOW FITTING

1шт.

6

AR36752

CAP

1шт.

7

AT74492

STRAINER

1шт.

8

FUEL TANK

( AT83246 NO LONGER AVAILABLE) (SUB FOR AT77505)

1шт.

FUEL TANK

( AT83246 NO LONGER AVAILABLE)

1шт.

9

AT13740

DRAIN VALVE

1шт.

10A

FILTER

( T42632 NO LONGER REQUIRED)

1шт.

11A

SHUT-OFF VALVE

( AT35139 NO LONGER AVAILABLE, THIS APPLICATION) (SUB AT36766 AND U45768 OR U45538)

1шт.

11B

AT36766

HAND OPERATED VALVE

1шт.

11C

U45768

ELBOW FITTING

1шт.

12

19M7783

SCREW

M10 X 16

3шт.

13

14M7170

LOCK NUT

M16

1шт.

14

BAND

( AT77507 NO LONGER AVAILABLE)

1шт.

15

AT43910

HYDRAULIC HOSE - FABRICATE

1/2" X 1 753 MM (69") X 1/2"

1шт.

16

T46077

ISOLATOR

2шт.

17

PAD

( T78227 NO LONGER AVAILABLE)

2шт.

18

R27181

GASKET

1шт.

19

12H295

LOCK WASHER

0.190"

5шт.

20

21H1316

SCREW

0.190" X 1/2"

5шт.

37H73

SCREW

1шт.

H85092

SCREW

5шт.

21

12H295

LOCK WASHER

0.190"

1шт.

22

14H631

NUT

0.190"

1шт.

23

14M7296

FLANGE NUT

M10

3шт.

24

MOLDING

(MAKE ONE FOOT LONG FROM T58056 BULK MATERIAL) (TO FRONT INSIDE LIP OF TANK 5" UP FROM BOTTOM)

1шт.

Выбрано товаров: 29