Запчасти John Deere 90CR 1 - MAIN COUNTERWEIGHT 1749 - FRAMES, CHASSIS OR SUPPORTING STRUCTURE 17

Схема запчастей John Deere 90CR - 1 - MAIN COUNTERWEIGHT 1749 - FRAMES, CHASSIS OR SUPPORTING STRUCTURE 17
FIT
1:1
100%

Артикул

Название

Примечание

Количество

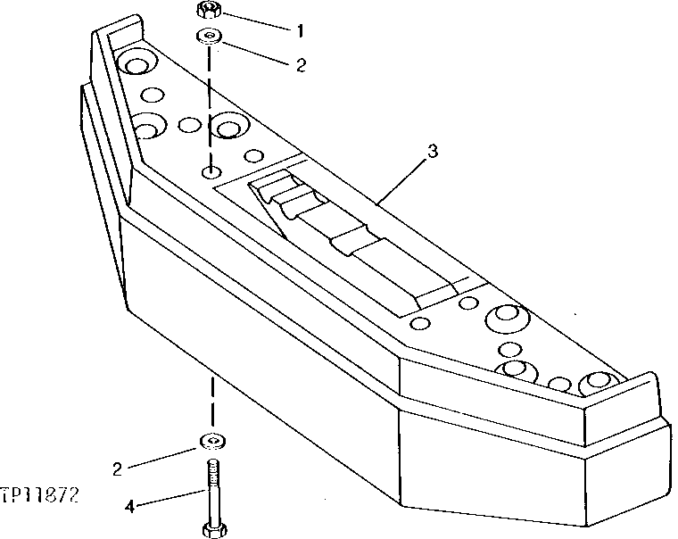
1

A31870

LOCK NUT

4шт.

2

24M7242

WASHER

21.400 X 42 X 5 MM

8шт.

3

AT77828

COUNTERWEIGHT

CONVENIENCE ASSEMBLY

1шт.

4

19M8388

CAP SCREW

M20 X 330

4шт.

Выбрано товаров: 4