Запчасти John Deere 90CR 2 - CONSOLE AND SWITCHES 1810 - OPERATORS STATION 18

Схема запчастей John Deere 90CR - 2 - CONSOLE AND SWITCHES 1810 - OPERATORS STATION 18
FIT
1:1
100%

Артикул

Название

Примечание

Количество

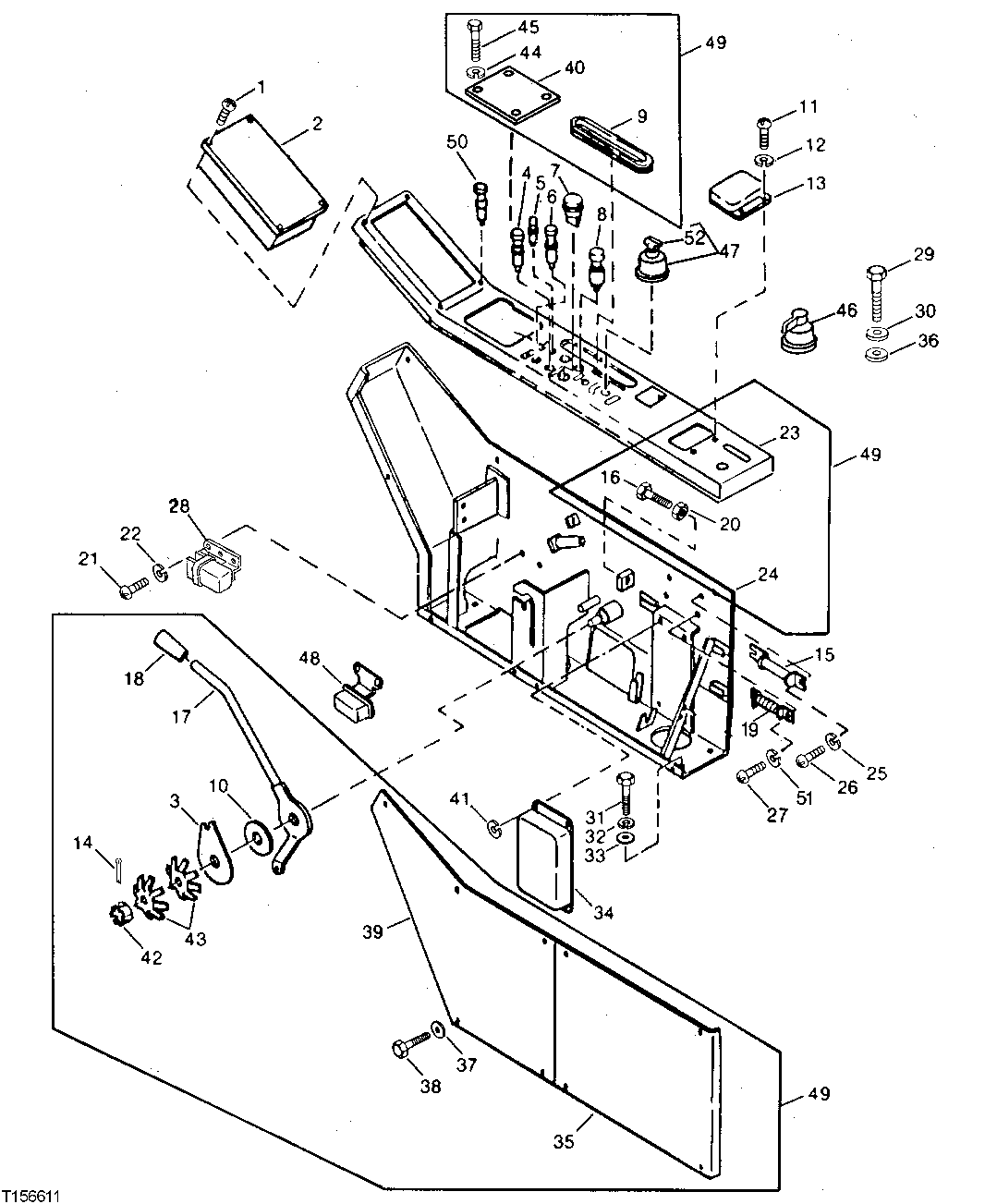
1

21M7326

SCREW

M6 X 20

4шт.

2

INSTRUMENT PANEL

( AT82704 NO LONGER AVAILABLE, SUB INDIVIDUAL COMPONENTS)

1шт.

3

4053155

PLATE

(SUB FOR TH100563)

1шт.

4

4009556

SWITCH

(SUB FOR TH100576) WIPER

1шт.

5

AH87806

SWITCH

SWING LOCK AND PROPEL SPEED

2шт.

6

4110106

SWITCH

(SUB FOR TH100575) WORK LIGHT

1шт.

7

4155755

SWITCH

(SUB FOR TH101582) START AID

1шт.

8

AT78633

HOUSING

1шт.

AR60937

ELECTRICAL LIGHTER

1шт.

AT78634

WIRING LEAD

1шт.

9

4109825

ISOLATOR

(SUB FOR T81280)

1шт.

10

428770

WASHER

(SUB FOR TH100562)

1шт.

11

21M7246

SCREW

M6 X 16

2шт.

12

24M7054

WASHER

6.400 X 12 X 1.600 MM

2шт.

13

4123095

FUSE BOX

(SUB FOR TH100582)

1шт.

AH84167

FUSE

30-AMP

1шт.

AT39227

FUSE

15-AMP

7шт.

14

11M7087

COTTER PIN

4 X 40 MM, (SUB FOR 11M7023)

1шт.

15

AU42809

RESISTOR

LIGHTER

1шт.

16

BOLT

2шт.

17

8022059

LEVER

(SUB FOR AT82715)

1шт.

18

4162336

GRIP

(SUB FOR TH100561)

1шт.

19

4155754

RESISTOR

(SUB FOR TH101583) ALTERNATOR EXCITATION

1шт.

20

14M7274

NUT

M10

2шт.

21

21M7288

SCREW

M6 X 10, (SUB FOR TH100547)

4шт.

22

12M7006

LOCK WASHER

6 MM, (SUB FOR TH100548)

4шт.

23

6006557

PANEL

(SUB FOR AT82716)

1шт.

4146754

ISOLATOR

(SUB FOR TH100572) UNUSED HOLES IN DASH

2шт.

24

6006888

CONSOLE

(SUB FOR AT82718)

1шт.

25

12M7006

LOCK WASHER

2шт.

26

21M7288

SCREW

M6 X 10

2шт.

27

21M7394

SCREW

M3 X 10

2шт.

28

4357038

RELAY

(SUB FOR AT82709) SWING BRAKE

1шт.

29

21M7285

SCREW

M6 X 12

4шт.

30

21M7277

SCREW

M6 X 25

5шт.

31

19M7402

CAP SCREW

M10 X 25

6шт.

32

12M7066

LOCK WASHER

10 MM

6шт.

33

24M7028

WASHER

10.500 X 20 X 2 MM

6шт.

34

4129244

MICROPROCESSOR

(SUB FOR TH100592)

1шт.

35

7015609

COVER

(SUB FOR AT82717)

1шт.

36

24M7054

WASHER

6.400 X 12 X 1.600 MM

5шт.

37

12M7006

LOCK WASHER

6 MM, (SUB FOR TH100548)

12шт.

24M7054

WASHER

6.400 X 12 X 1.600 MM

12шт.

38

19M7923

CAP SCREW

M6 X 12, (SUB FOR 19M6614)

12шт.

39

2018892

COVER

(SUB FOR T81278)

1шт.

40

3028708

COVER

(SUB FOR T81279)

1шт.

41

12M7006

LOCK WASHER

6 MM, (SUB FOR TH100548)

4шт.

42

M631619

NUT

(SUB FOR TH100565)

1шт.

43

4502974

WASHER

(SUB FOR TH100564)

2шт.

44

12M7006

LOCK WASHER

6 MM

4шт.

24M7054

WASHER

6.400 X 12 X 1.600 MM

4шт.

45

21M7277

SCREW

M6 X 25

4шт.

46

4173490

SWITCH

(SUB FOR AT82707) BLOWER

1шт.

21M7295

SCREW

M4 X 6

5шт.

47

4237505

SWITCH

(SUB FOR TH102139, TH108551 OR 4186744) START

1шт.

48

4505392

RELAY

(SUB FOR TH100585) HORN

1шт.

49

AT82714

CONSOLE

RIGHT

1шт.

50

4266984

SWITCH

(SUB FOR TH100574) BUZZER, STOP

1шт.

51

12H233

LOCK WASHER

3.175 MM, (SUB FOR 12M7048)

2шт.

52

4112457

KEY

(USE WITH TH102139) (SUB FOR TH103383)

1шт.

AT194969

KEY

(SUB FOR TH108552 AND AT147803) (USE WITH TH108551, 4186744 OR 4237505)

1шт.

Выбрано товаров: 61