Запчасти John Deere 90CR 1 - SEAT BASE 1821 - OPERATORS STATION 18

Схема запчастей John Deere 90CR - 1 - SEAT BASE 1821 - OPERATORS STATION 18
FIT
1:1
100%

Артикул

Название

Примечание

Количество

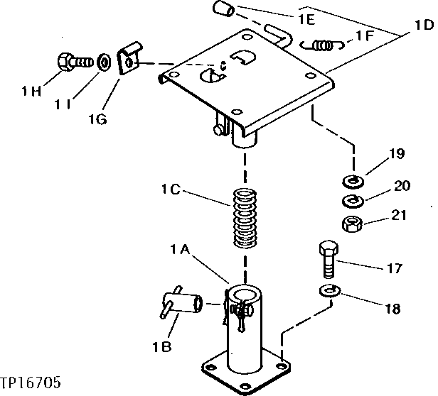
1A

2019782

STAND

(SUB FOR TH101608)

1шт.

1B

TH101612

HANDLE

1шт.

1C

3030270

SPRING

(SUB FOR TH101613)

1шт.

1D

2019783

SUPPORT

(SUB FOR TH101614)

1шт.

1E

3030267

GRIP

(SUB FOR TH101615)

1шт.

1F

3030268

EXTENSION SPRING

(SUB FOR TH101616)

1шт.

1G

3030271

ANGLE

(SUB FOR TH101617)

1шт.

1H

19M7932

CAP SCREW

M8 X 16, (SUB FOR 19M7162)

1шт.

1I

24M7055

WASHER

8.400 X 16 X 1.600 MM, (SUB FOR TH100280)

1шт.

17

19M7402

CAP SCREW

M10 X 25

4шт.

18

12M7066

LOCK WASHER

10 MM, (SUB FOR TH100417)

4шт.

19

24M7055

WASHER

8.400 X 16 X 1.600 MM, (SUB FOR TH100280)

4шт.

20

12M7056

LOCK WASHER

8 MM, (SUB FOR TH100529) (SUB FOR 12M7065)

4шт.

21

14M7273

NUT

M8

4шт.

Выбрано товаров: 14