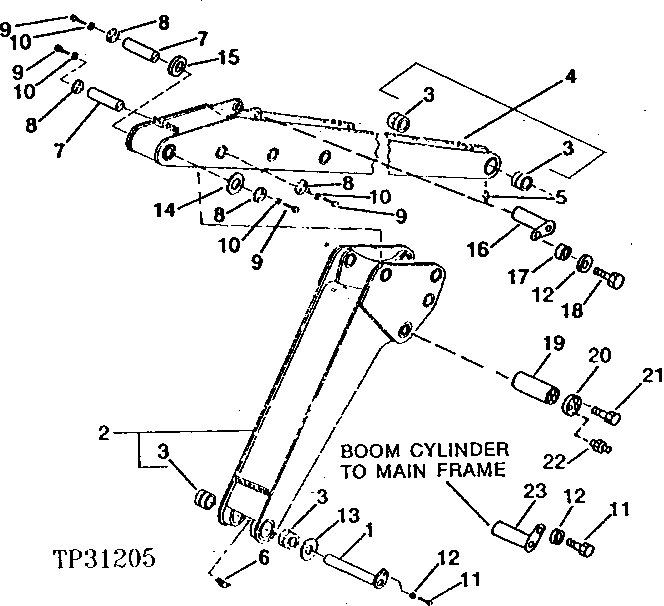
Запчасти John Deere 90CR 1 - TWO PIECE BOOM 3340 - BACKHOE AND EXCAVATOR 33

Схема запчастей John Deere 90CR - 1 - TWO PIECE BOOM 3340 - BACKHOE AND EXCAVATOR 33
FIT
1:1
100%

Артикул

Название

Примечание

Количество

1

AT79131

PIN FASTENER

1шт.

2

AT80519

EXCAVATOR BOOM

1шт.

3

U44043

BUSHING

4шт.

4

AT80525

EXCAVATOR BOOM

1шт.

5

JD7759

LUBRICATION FITTING

STRAIGHT

2шт.

6

JD7763

LUBRICATION FITTING

ANGLE

2шт.

7

T80255

PIN FASTENER

2шт.

8

T48400

RETAINER

4шт.

9

T55579

BOLT

8шт.

10

T17776

WASHER

8шт.

11

19M8029

CAP SCREW

M16 X 30, (SUB FOR 19M7608)

2шт.

12

R20135

WASHER

16.662 X 57.150 X 6.350 MM

4шт.

13

R47296

WASHER

AS REQUIRED

1шт.

14

T80254

THRUST WASHER

4шт.

15

T80253

THRUST WASHER

6шт.

16

AT79170

PIN

3шт.

17

Z24862

SPACER

1шт.

18

19M7489

CAP SCREW

M16 X 45

1шт.

19

U45872

PIN

BOOM CYLINDER TO BOOM

2шт.

20

U45879

SPACER

4шт.

21

19H2898

CAP SCREW

1/2" X 1-1/4"

8шт.

22

T162396

LUBRICATION FITTING

(SUB FOR JD7798)

4шт.

Выбрано товаров: 22