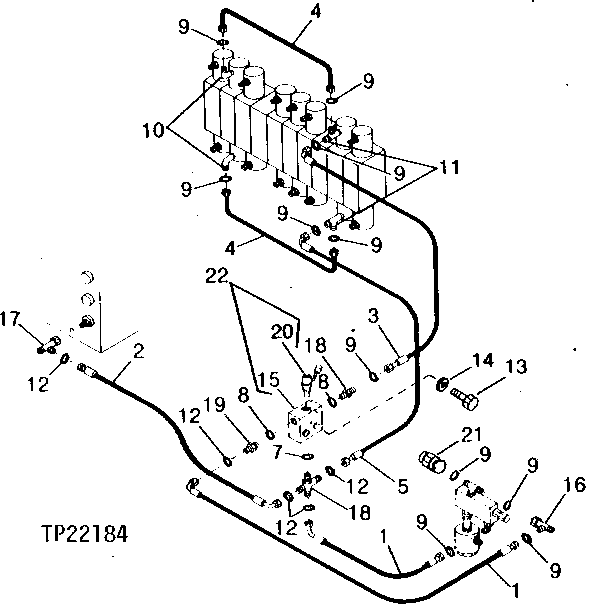
Запчасти John Deere 90CR 21 - AUXILIARY REMOTE CONTROL VALVE HYDRAULIC OIL LINES 3360 - BACKHOE AND EXCAVATOR 33

Схема запчастей John Deere 90CR - 21 - AUXILIARY REMOTE CONTROL VALVE HYDRAULIC OIL LINES 3360 - BACKHOE AND EXCAVATOR 33
FIT
1:1
100%

Артикул

Название

Примечание

Количество

1

AT79336

HYDRAULIC HOSE - FABRICATE

11/16" X 585 MM (23") X 13/16", (SUB FOR AT72076)

2шт.

2

AT72090

HYDRAULIC HOSE

13/16" X 1 283 MM (50-1/2") X 13/16"

1шт.

3

AT84776

HYDRAULIC HOSE - FABRICATE

11/16" X 1 075 MM (42-1/4") X 11/16", (SUB FOR AT78188)

1шт.

4

AT81562

OIL LINE

2шт.

5

AT81563

HYDRAULIC HOSE - FABRICATE

11/16" X 838 MM (33") X 11/16"

1шт.

6

H77698

TIE BAND

NOT ILLUSTRATED

1шт.

7

R26375

O-RING

1шт.

8

R26448

O-RING

(SUB FOR T70177)

2шт.

9

T77613

O-RING

11шт.

10

38H1004

ELBOW FITTING

2шт.

11

38H1023

TEE FITTING

2шт.

12

T77857

O-RING

5шт.

13

19M7801

SCREW

M8 X 60

2шт.

14

24M7055

WASHER

8.400 X 16 X 1.600 MM

2шт.

15

HOUSING

(SUB FOR T78580) (ALSO ORDER (2) 24M7055) (SUB AT116486) ( T107202 NO LONGER AVAILABLE)

1шт.

16

38H1030

TEE FITTING

1шт.

17

38H1031

TEE FITTING

1шт.

18

38H1160

ADAPTER FITTING

1шт.

19

38H1173

ADAPTER FITTING

1шт.

20

AT115457

SOLENOID VALVE

(SUB FOR RE22399, THIS APPLICATION) (SUB FOR AT66691)

1шт.

21

38H1415

FITTING

1шт.

22

AT116486

ELEC.PROPORTIONAL VALVE

(SUB FOR AT115437)

1шт.

AT115457

SOLENOID VALVE

1шт.

Выбрано товаров: 23