Запчасти John Deere 90CR 29 - CONTROL VALVE TO BOOM HOSES AND CYLINDER TUBES 3360 - BACKHOE AND EXCAVATOR 33

Схема запчастей John Deere 90CR - 29 - CONTROL VALVE TO BOOM HOSES AND CYLINDER TUBES 3360 - BACKHOE AND EXCAVATOR 33
FIT
1:1
100%

Артикул

Название

Примечание

Количество

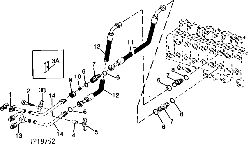
1

AT105338

OIL LINE

(SUB FOR AT78286) (ALSO ORDER AT105347)

1шт.

AT105338

OIL LINE

1шт.

2

19M7658

CAP SCREW

M10 X 50

1шт.

19M8320

SCREW

M10 X 45

1шт.

3A

T43358

STRAP

1шт.

3B

T35459

CLAMP

1шт.

4

28H1697

SPACER

0.493" X 0.675" X 3/4"

1шт.

28H3257

BUSHING

0.493" X 0.675" X 19/32"

1шт.

5

T35459

CLAMP

1шт.

6

T76938

O-RING

4шт.

7

38H1164

ADAPTER FITTING

3шт.

8

R29936

O-RING

2шт.

9

T82004

ADAPTER FITTING

1шт.

10

T82055

ORIFICE

1шт.

11

AT79601

HYDRAULIC HOSE - FABRICATE

1-7/16" X 1 067 MM (42") X 1-7/16"

1шт.

12

AT78923

HYDRAULIC HOSE - FABRICATE

1-7/16" X 1 210 MM (47-3/4") X 1-7/16"

1шт.

13

AT105337

OIL LINE

(SUB FOR AT78287) (ALSO ORDER AT105347)

1шт.

AT105337

OIL LINE

1шт.

14

AT105347

OIL LINE

2шт.

Выбрано товаров: 19