Запчасти John Deere 90CR 3 - STABILIZER 130 - TRACKS 1

Схема запчастей John Deere 90CR - 3 - STABILIZER 130 - TRACKS 1
FIT
1:1
100%

Артикул

Название

Примечание

Количество

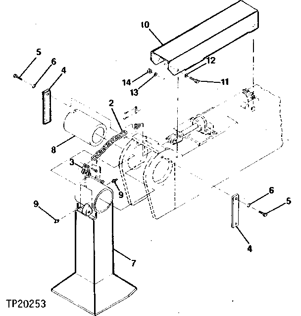
1

G-209

WRENCH SET

(A)

2шт.

2

5Y593A-1

CHAFFER

(A)

2шт.

3

S-247

LINK BODY

(A) PINS INCLUDED

2шт.

4

5Y997A-1

BAR

(A)

4шт.

5

COML

BOLT

(A) 3/4" -10 UNC X 1-3/4"

8шт.

6

COML

LOCK WASHER

(A) 3/4"

8шт.

7

5Y761E-20

STABILIZER FOOT

(A)

1шт.

5Y761E-10

STABILIZER FOOT

(A)

1шт.

8

5Y595D-10

PIN

(A)

2шт.

9

1792

LUBRICATION FITTING

(A) (SCD 5Y667C-1)

2шт.

10

5Y598D-1

COVER

(A) LEFT-HAND

1шт.

5Y598D-3

COVER

(A) RIGHT-HAND

1шт.

11

COML

BOLT

(A) 3/8" -16 UNC X 1-1/4"

8шт.

12

COML

LOCK WASHER

(A) 3/8"

8шт.

13

COML

LOCK WASHER

(A) 3/8"

8шт.

14

COML

NUT

(A) 3/8" -16 UNC

8шт.

Выбрано товаров: 16