Запчасти John Deere 90CR 4 - HYDRAULIC OIL ACCUMULATOR AND MOUNTING 260 - AXLES AND SUSPENSION SYSTEMS 2

Схема запчастей John Deere 90CR - 4 - HYDRAULIC OIL ACCUMULATOR AND MOUNTING 260 - AXLES AND SUSPENSION SYSTEMS 2
FIT
1:1
100%

Артикул

Название

Примечание

Количество

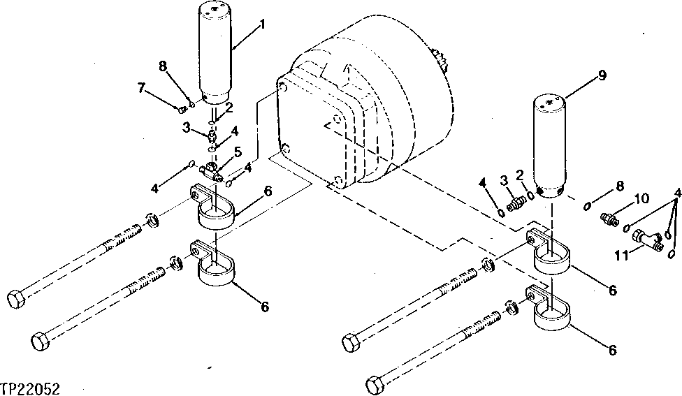
1

RE29336

HYDRAULIC ACCUMULATOR

(PROPEL BRAKE)

2шт.

2

R26286

O-RING

3шт.

3

38H1170

ADAPTER FITTING

(ALSO ORDER T77613 AND R26286)

3шт.

4

T77613

O-RING

10шт.

5

38H1038

TEE FITTING

2шт.

6

R35794

CLAMP

6шт.

7

R31631

DRAIN PLUG

2шт.

8

R26287

O-RING

3шт.

9

T21242

WASHER

(GEAR BOX)

1шт.

10

19H3535

CAP SCREW

1/2" X 6"

1шт.

11

38H1030

TEE FITTING

1шт.

Выбрано товаров: 11