Запчасти John Deere 90CR 5 - PROPEL BRAKE AND GEAR BOX ACCUMULATORS 260 - AXLES AND SUSPENSION SYSTEMS 2

Схема запчастей John Deere 90CR - 5 - PROPEL BRAKE AND GEAR BOX ACCUMULATORS 260 - AXLES AND SUSPENSION SYSTEMS 2
FIT
1:1
100%

Артикул

Название

Примечание

Количество

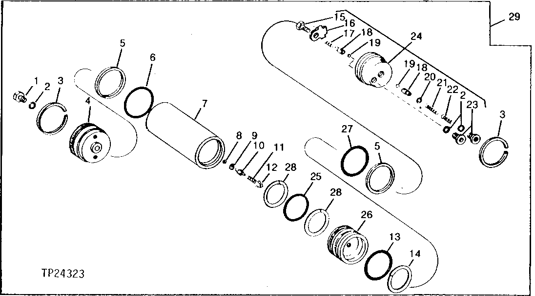
1

R27094

DRAIN PLUG

1шт.

2

R26286

O-RING

3шт.

3

R78101

SNAP RING

2шт.

4

R48957

END

1шт.

5

R35684

BACK-UP RING

2шт.

6

R86102

KEY

1шт.

7

R77866

HYDRAULIC CYLINDER BARREL

1шт.

8

R60038

PACKING

1шт.

9

R47087

WASHER

1шт.

10

R47085

VALVE

1шт.

11

R47086

SPRING

1шт.

12

R41877

GUIDE

1шт.

13

A4723R

WASHER

(SUB FOR R76745) (ALSO ORDER (2) R86783 AND R86874)

1шт.

14

R27649

BACK-UP RING

1шт.

15

R74022

RETAINER

1шт.

16

R75866

LOCK PLATE

1шт.

17

R44256

SPRING

1шт.

18

R44254

GUIDE

2шт.

19

400R

BALL

2шт.

20

R31632

SHIM

2шт.

21

R47606

SPRING

1шт.

22

R47605

SPRING

1шт.

23

R47607

PIPE PLUG

2шт.

24

AR93259

CAP

1шт.

25

R86874

SEAL

(SUB FOR RE26567) (ALSO ORDER (2) R86873)

1шт.

26

R57103

PISTON

1шт.

27

R86192

O-RING

(SUB FOR U12331)

1шт.

28

R86873

PISTON RING

2шт.

29

RE29336

HYDRAULIC ACCUMULATOR

(ALSO ORDER R80752 ENGLISH LABEL OR R80753 SPANISH LABEL OR R80754 FRENCH LABEL OR R82337 GERMAN LABEL AS REQUIRED)

1шт.

Выбрано товаров: 29