Запчасти John Deere 90D 14 - DOUBLE CONTROL HANDLE WITH WIRING 1674 - ELECTRICAL SYSTEMS 16

Схема запчастей John Deere 90D - 14 - DOUBLE CONTROL HANDLE WITH WIRING 1674 - ELECTRICAL SYSTEMS 16
FIT
1:1
100%

Артикул

Название

Примечание

Количество

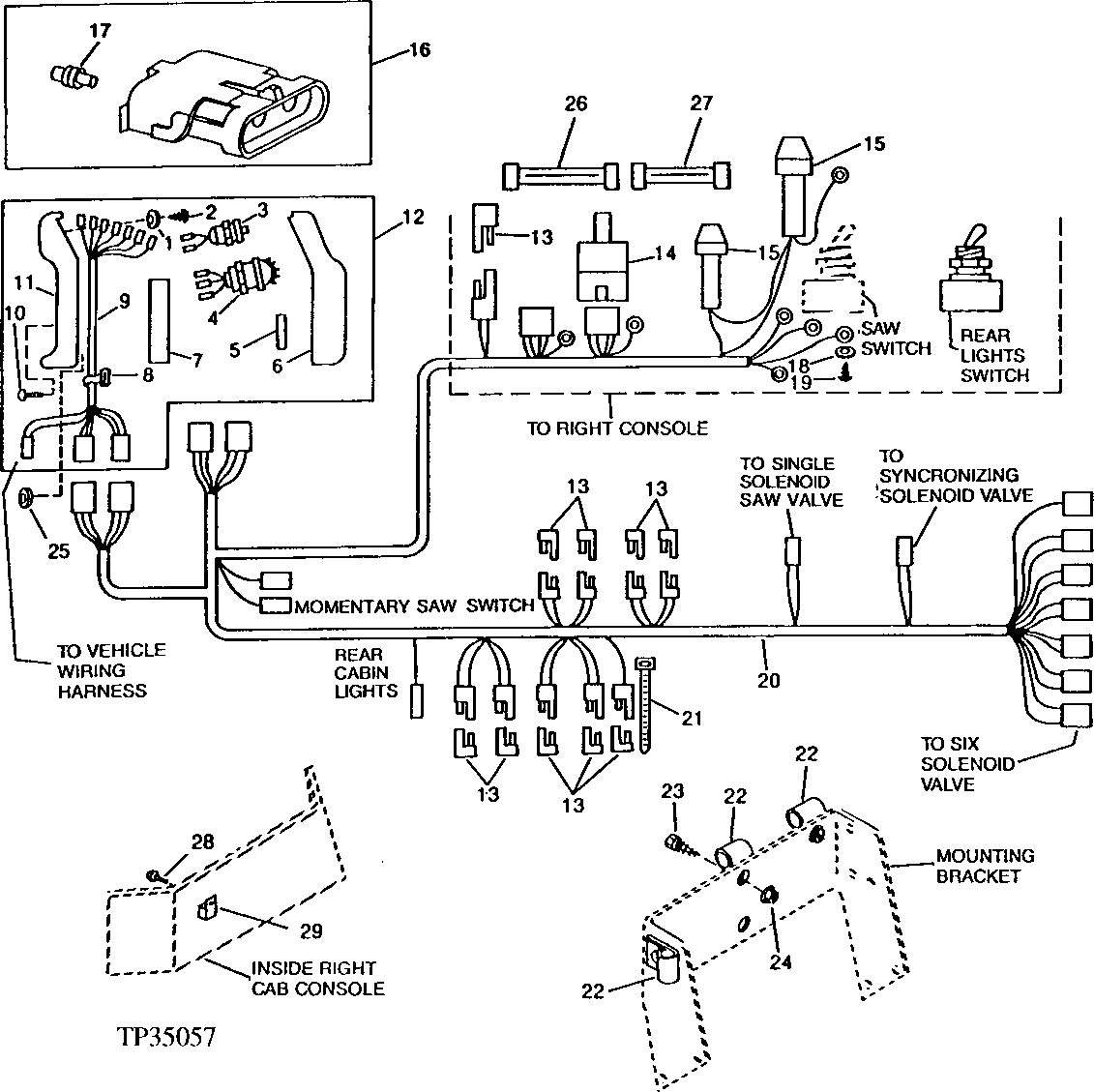
1

12H321

WASHER

0.138"

7шт.

2

21H1469

SCREW

0.138" X 3/8"

7шт.

3

AT139383

TOGGLE/ROCKER SWITCH

(SUB FOR AT115450) PUSH BUTTON (MOMENTARY)

1шт.

4

AT139382

TOGGLE/ROCKER SWITCH

(SUB FOR AT115449)

2шт.

AT139382

TOGGLE/ROCKER SWITCH

2шт.

5

R71799

NEEDLE ROLLER

2шт.

6

T114699

HANDLE

1шт.

7

T114698

SUPPORT

1шт.

8

R44302

TIE BAND

2шт.

9

AT195787

WIRING HARNESS

(SUB AT132958)

1шт.

10

T80394

SCREW

6шт.

11

AT115448

HANDLE

1шт.

12

AT195786

CONTROL LEVER

(SUB FOR AT115221)

2шт.

AT195786

CONTROL LEVER

(SUB FOR AT135551)

2шт.

13

AR94101

DIODE

DIODE

10шт.

14

AT77726

RELAY

MOMENTARY SAW AND SYNCHRO VALVE

2шт.

15

AT28061

FUSE

2шт.

16

RE12363

ELECTRICAL CONNECTOR ASSY

3шт.

17

R78064

ELEC. CONNECTOR CAVITY PLUG

6шт.

18

12H321

WASHER

0.138"

4шт.

19

21H1309

SCREW

0.138" X 1/4"

4шт.

20

AT132958

WIRING HARNESS

(SUB FOR AT115421) (INCLUDES AR94101, B32206 AND AT28077)

1шт.

21

R44302

TIE BAND

10шт.

22

R46415

CLAMP

(USE WITH T114552)

3шт.

23

19M7785

SCREW

3шт.

24

14M7296

FLANGE NUT

3шт.

25

24M7240

WASHER

2шт.

26

B32206

FUSE

USE WITH KEY 15 (3-AMP) EQUIPMENT CONTROLS

1шт.

27

AT28077

FUSE

USE WITH KEY 15 (10-AMP) REAR CABIN LIGHTS

1шт.

28

19M7775

SCREW

M6 X 16

1шт.

29

AT77726

RELAY

1шт.

Выбрано товаров: 31