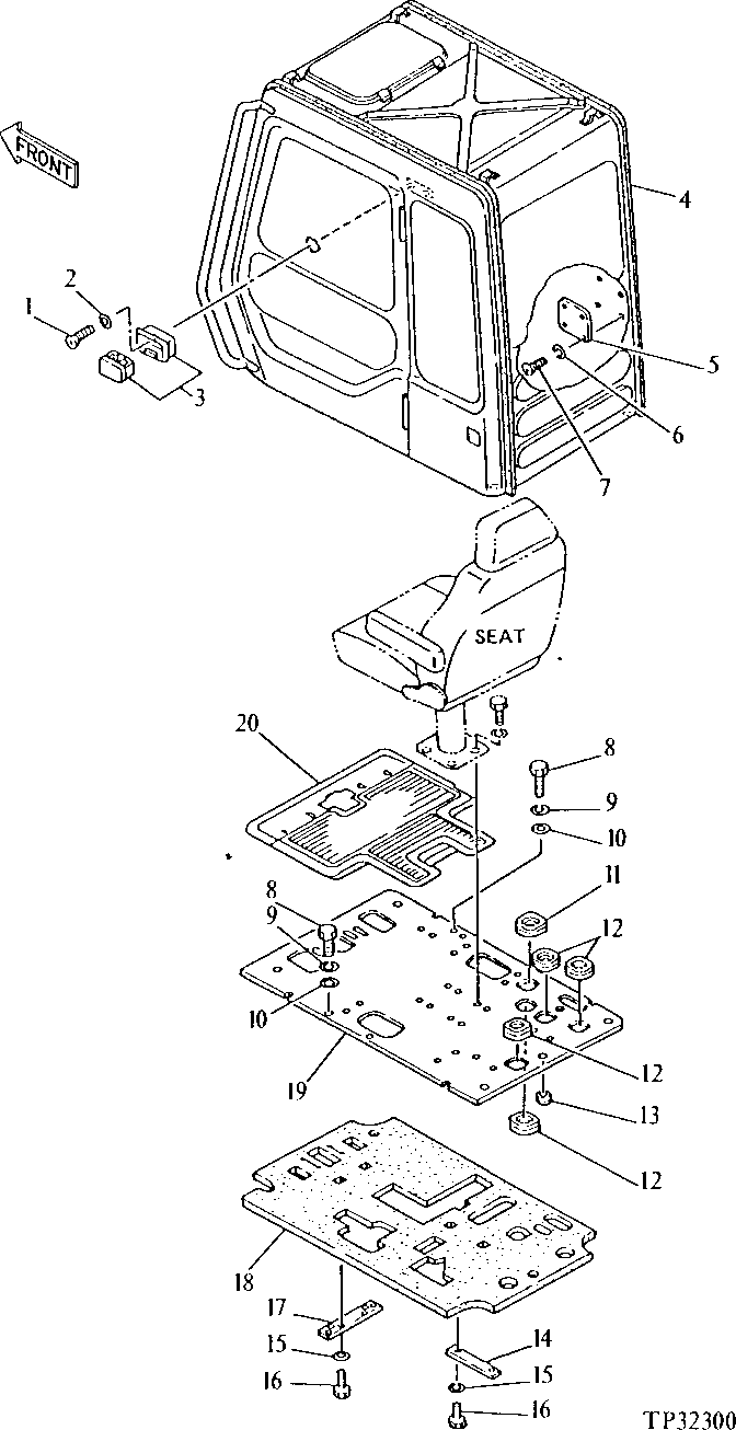
Запчасти John Deere 90D 22 - CAB PLATFORM 1810 - OPERATORS STATION 18

Схема запчастей John Deere 90D - 22 - CAB PLATFORM 1810 - OPERATORS STATION 18
FIT
1:1
100%

Артикул

Название

Примечание

Количество

1

21M7278

SCREW

M5 X 10

2шт.

2

24M7027

WASHER

5.300 X 10 X 1 MM

2шт.

3

4298985

ASHTRAY

(SUB FOR TH101096)

1шт.

4

4196647J

CAB

(ALSO ORDER AT148303, T71441, T71442, (3) 19M7560, (3) 12M7006) (SUB FOR AT114976 OR 4196647) (COMPLETE WITH DOOR, WINDOWS, HEADLINER, TIM PADS AND HAND RAILS)

1шт.

5

4158649

PLATE

(SUB FOR TH101577)

1шт.

6

12M1623

LOCK WASHER

5.100 MM

4шт.

7

21M7278

SCREW

M5 X 10

4шт.

8

19M7662

CAP SCREW

M10 X 30

4шт.

9

12M7066

LOCK WASHER

10 MM

4шт.

10

24M7028

WASHER

10.500 X 20 X 2 MM

4шт.

11

4205081

GROMMET

(SUB FOR TH108614)

1шт.

12

4205080

GROMMET

(SUB FOR TH108613)

4шт.

13

4205084

GROMMET

(SUB FOR TH108616)

1шт.

14

4204646

PLATE

(SUB FOR TH108612)

1шт.

15

12M7066

LOCK WASHER

10 MM

4шт.

16

19M7938

CAP SCREW

M10 X 20

4шт.

17

4205043

PLATE

(SUB FOR TH108611)

1шт.

18

2025049

INSULATOR

(SUB FOR T114431)

1шт.

19

6008707

PLATE

(SUB FOR AT114977)

1шт.

20

1011413

MAT

(SUB FOR TH108617)

1шт.

Выбрано товаров: 20