Качественные детали и логистика
Оригинальные и аналоговые запчасти с доставкой по России, Казахстану и Беларуси
©2022 PartSell ООО "Система" ИНН 2463123282 ОГРН 1212400004838
Центральный офис: г. Красноярск, Академика Киренского, д.87, пом.4
Телефон: 8 (800) 777-65-74 Email: zakaz@partsell.ru
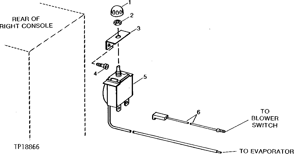
9 - AIR CONDITIONING THERMOSTAT SWITCH AND WIRE LEAD
№
Артикул
Название
Примечание
Количество
1
AL58295
KNOB
(SUB FOR AR69370)
1шт.
2
E46066
NUT
(SUB FOR R44165)
3
T80641
ANGLE
T80642
LABEL
INSTALL ON BRACKET T80641
4
37H43
SCREW
2шт.
5
AT61602
SWITCH
6
AT112368
WIRING LEAD
Выбрано товаров: 0