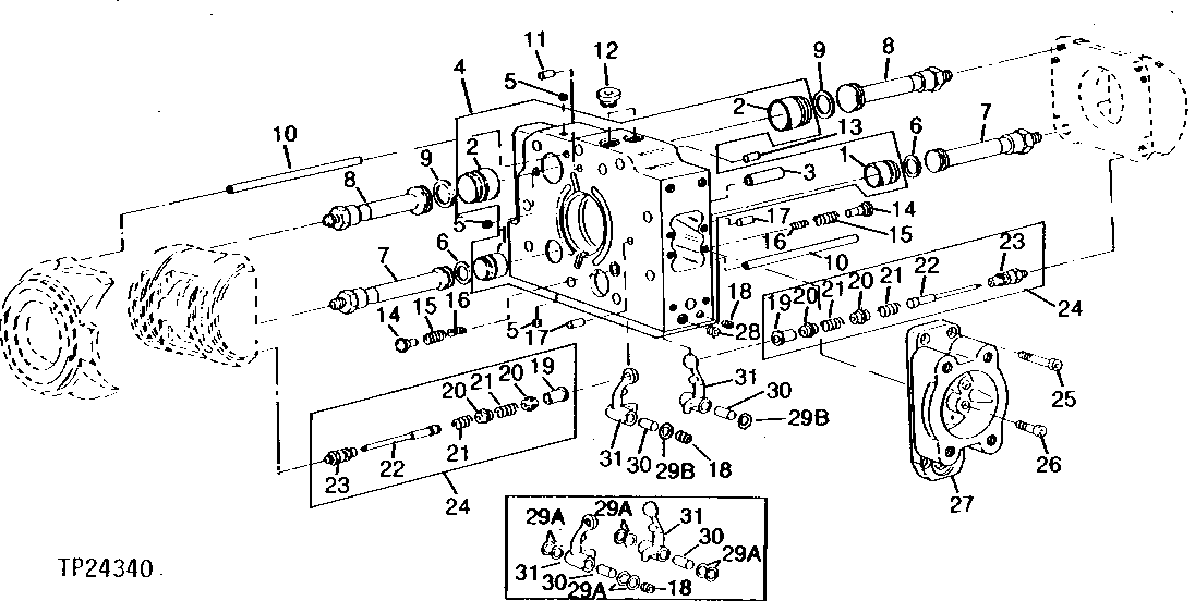
Запчасти John Deere 90D 18 - HYDRAULIC PUMP VALVE PLATE 2160 - MAIN HYDRAULIC SYSTEM 21

Схема запчастей John Deere 90D - 18 - HYDRAULIC PUMP VALVE PLATE 2160 - MAIN HYDRAULIC SYSTEM 21
FIT
1:1
100%

Артикул

Название

Примечание

Количество

1

BUSHING

(K) ( T107898 NO LONGER AVAILABLE) (SUB AT142013)

2шт.

2

BUSHING

(K) ( T107897 NO LONGER AVAILABLE) (SUB AT142013)

2шт.

3

T107843

TUBE

1шт.

T121606

TUBE

1шт.

4

AT184448

HYDRAULIC PUMP

(SUB FOR AT112733)

1шт.

AT142013

SECTION

(USE IF AVAILABLE) (SUB AT184448)

1шт.

AT170962

BUSHING KIT

(USE TO REPLACE BUSHINGS IN HYD PUMP HOUSING) (NOT ILLUSTRATED)

1шт.

5

15M7032

PIPE PLUG

25шт.

6

T107892

PISTON RING

2шт.

7

AT125582

PISTON

(SUB FOR AT112730)

2шт.

8

AT152015

PISTON

(SUB FOR AT125581)

2шт.

9

T107891

PISTON RING

2шт.

10

T107895

TUBE

2шт.

11

44M1135

DOWEL PIN

1шт.

12

R27474

DRAIN PLUG

2шт.

R26906

O-RING

(SUB FOR R47151)

2шт.

13

44M1135

DOWEL PIN

1шт.

14

T107914

RETAINER

2шт.

15

T107857

SPRING

2шт.

16

T107850

SPRING

2шт.

17

44M7086

DOWEL PIN

2шт.

18

22M7113

SET SCREW

M12 X 10

2шт.

19

BUSHING

(SUB AT112738)

2шт.

20

RETAINER

(SUB AT112738)

4шт.

21

SPRING

(SUB AT112738)

4шт.

22

ROD

(SUB AT112738)

2шт.

23

PIN

(SUB AT112738)

2шт.

24

AT112738

ROD

2шт.

25

19M8169

SCREW

M12 X 30

4шт.

26

19M7660

SCREW

M8 X 20

4шт.

27

T107907

FLANGE

1шт.

28

FITTING

14 MM DIA. ( 15M6643 NO LONGER AVAILABLE)

1шт.

29A

24M7306

SHIM

8шт.

29B

24M7321

WASHER

10 X 16 X 2 MM

2шт.

30

T107968

PIN

2шт.

31

T107910

LEVER

2шт.

Выбрано товаров: 36