Запчасти John Deere 90D 1 - BLADE 3201 - BULLDOZERS 32

Схема запчастей John Deere 90D - 1 - BLADE 3201 - BULLDOZERS 32
FIT
1:1
100%

Артикул

Название

Примечание

Количество

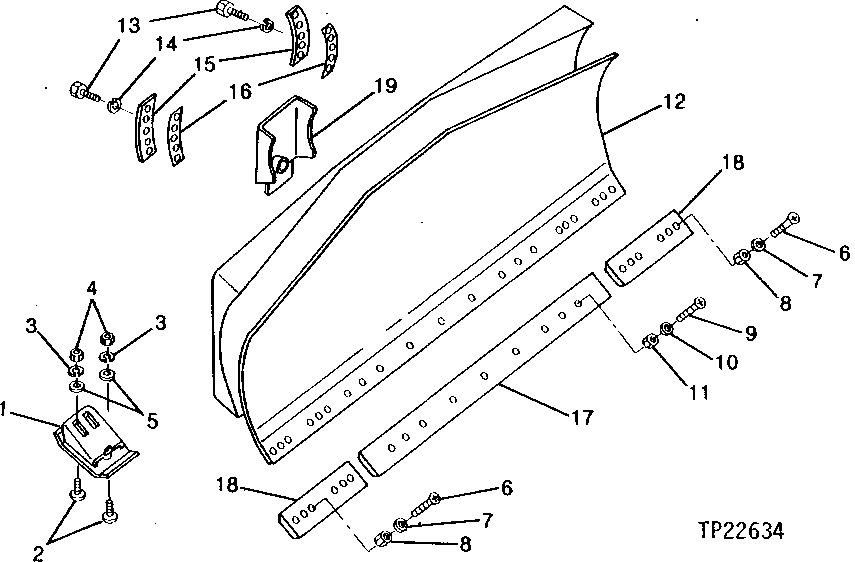
1

AU10002

SHOE

(A)

2шт.

2

03H1399

BOLT

5/8" X 1-3/4"

4шт.

3

12H294

LOCK WASHER

5/8"

4шт.

4

14H1039

NUT

5/8"

4шт.

5

24H1106

WASHER

11/16" X 1-3/4" X 0.134"

4шт.

6

09H1587

BOLT

(A) 5/8" X 2"

12шт.

7

T40728

WASHER

(A) 21/32" X 1-1/4" X 0.180"

12шт.

8

14H1039

NUT

(A) 5/8"

12шт.

9

10H1047

BOLT

(A) 3/4" X 2-1/4"

9шт.

10

T10510

WASHER

(A) 25/32" X 1-3/8" X 0.120", (USE IF AVAILABLE)

9шт.

R78019

WASHER

(SUB FOR T10510)

9шт.

11

14H1058

NUT

(A) 3/4"

9шт.

12

AT81541

BLADE

(INCLUDES ALL (A) PARTS)

1шт.

13

19H2431

CAP SCREW

3/4" X 2-1/4", (SUB FOR 19H1782)

10шт.

14

12H236

LOCK WASHER

3/4"

10шт.

15

T105543

PLATE

2шт.

16

T34408

SHIM

12шт.

17

U16814

CUTTING EDGE

(A)

1шт.

18

U41063

CUTTING EDGE

(A)

2шт.

19

AU13874

PLATE

(A)

1шт.

Выбрано товаров: 20