Запчасти John Deere 90D 2 - DOZER CONTROL CABLES AND LEVERS 3215 - BULLDOZERS 32

Схема запчастей John Deere 90D - 2 - DOZER CONTROL CABLES AND LEVERS 3215 - BULLDOZERS 32
FIT
1:1
100%

Артикул

Название

Примечание

Количество

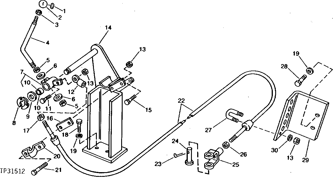
1

T124588

LABEL

BLADE LIFT (LEFT KNOB)

1шт.

T124589

LABEL

BLADE TILT (CENTER KNOB)

1шт.

T124590

LABEL

BLADE ANGLE (RIGHT KNOB)

1шт.

2

T115213

KNOB

3шт.

3

14H732

NUT

3/8"

3шт.

4

T130717

LEVER

3шт.

5

14M7276

NUT

M16

6шт.

6

T497T

WASHER

6шт.

7

AT130298

LEVER

3шт.

8

T40189

SNAP RING

1шт.

9

24H448

WASHER

25/32" X 1-1/8" X 0.090"

1шт.

10

R27116

BUSHING

6шт.

11

19H2705

CAP SCREW

5/16" X 1"

3шт.

12

AT49297

LINK END

3шт.

13

14H785

NUT

5/16"

11шт.

14

AT130296

STAND

1шт.

15

19H2664

CAP SCREW

5/16" X 3/4"

2шт.

16

STRAP

(SUB AH138519 STRAP AND CLAMP KIT) (SEE KEY 20)

3шт.

17

14H882

NUT

5/16"

3шт.

18

19M7550

CAP SCREW

M10 X 35

2шт.

19

24M7296

WASHER

10.500 X 30 X 2.500 MM

4шт.

20

CLAMP

(SUB AH138519 STRAP AND CLAMP KIT) (SEE PAGE 16)

3шт.

21

19H3552

CAP SCREW

5/16" X 1-1/2"

2шт.

22

AT157100

PUSH PULL CABLE

(SUB FOR AT112290)

3шт.

23

11M7082

COTTER PIN

2.500 X 25 MM, (SUB FOR 11M7081)

3шт.

24

C1067R

PIN FASTENER

3шт.

25

T78077

YOKE

3шт.

26

14H611

NUT

5/16"

3шт.

27

B2050M

U-BOLT

3шт.

28

19H2284

CAP SCREW

3/8" X 7/8"

2шт.

29

T130723

ANGLE

1шт.

30

24H1136

WASHER

11/32" X 11/16" X 0.065"

6шт.

Выбрано товаров: 32