Запчасти John Deere 90D 4 - DOZER CONTROL VALVE AUXILIARY SECTION 3260 - BULLDOZERS 32

Схема запчастей John Deere 90D - 4 - DOZER CONTROL VALVE AUXILIARY SECTION 3260 - BULLDOZERS 32
FIT
1:1
100%

Артикул

Название

Примечание

Количество

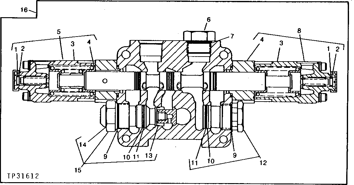
1

T77814

O-RING

(SUB FOR T19963)

2шт.

2

R31136

BACK-UP RING

2шт.

3

8330-001

HOUSING

2шт.

4

T78784

O-RING

2шт.

5

12285-001

DETENT

POSITIONER

1шт.

6

RE27175

PLUG

1шт.

7

T75983

O-RING

1шт.

8

12286-001

DETENT

POSITIONER

1шт.

9

U15242

O-RING

2шт.

10

T106298

BACK-UP RING

2шт.

11

O-RING

( T106368 - NO LONGER AVAILABLE) (SUB AT140087)

2шт.

12

PLUG

( AT106598 NOT AVAILABLE FOR SERVICE)

1шт.

13

T77858

O-RING

1шт.

14

R47151

O-RING

1шт.

15

12098-000

RELIEF VALVE

COMBINATION RELIEF AND LOAD CHECK

1шт.

16

12165007

VALVE

AUXILIARY SECTION

1шт.

Выбрано товаров: 16