Запчасти John Deere 90D 4 - BUCKETS 3302 - BACKHOE AND EXCAVATOR 33

Схема запчастей John Deere 90D - 4 - BUCKETS 3302 - BACKHOE AND EXCAVATOR 33
FIT
1:1
100%

Артикул

Название

Примечание

Количество

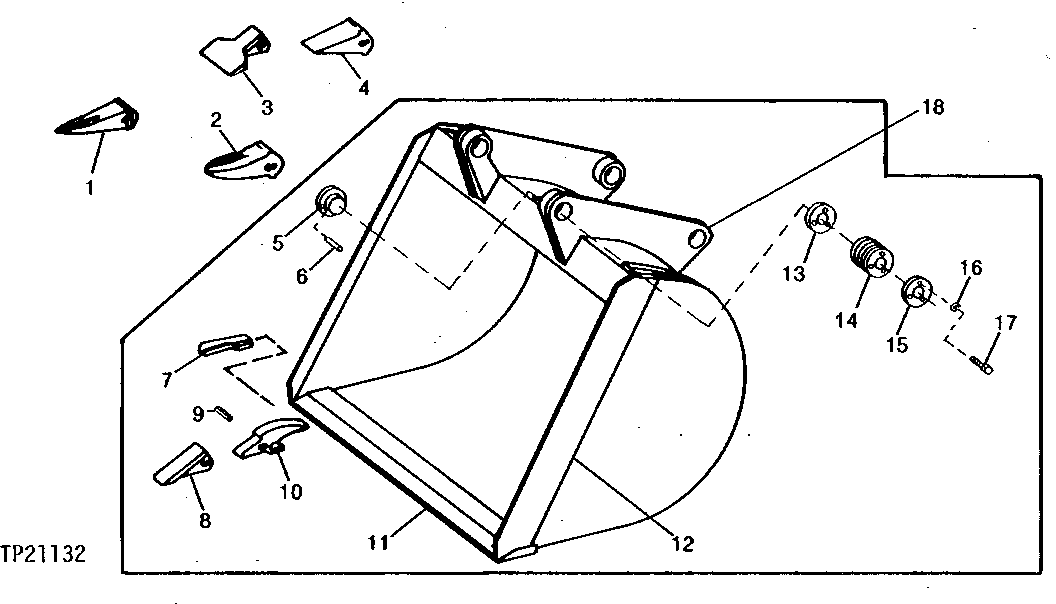
1

T252ST

TOOTH

(6 USED WITH 48" BUCKET) (5 USED WITH 42" BUCKET) (SUB FOR T72582 AND T72581)

ARшт.

2

T252ST

TOOTH

(6 USED WITH 48" BUCKET) (5 USED WITH 42" BUCKET) (SUB FOR T72581)

ARшт.

3

T250F

TOOTH

(6 USED WITH 48" BUCKET) (5 USED WITH 42" BUCKET) (SUB FOR AT135911)

ARшт.

4

T252

TOOTH

(6 USED WITH 48" BUCKET) (5 USED WITH 42" BUCKET) (SUB FOR T72583)

ARшт.

5

4124030

SPACER

(SUB FOR TH104511) (WITH 5/8 INCH FLANGE)

1шт.

6

4179110

PIN

(SUB FOR TH103520)

1шт.

7

T34535

CORNER

R.H. (1 USED WITH 48" BUCKET)

ARшт.

T34536

CORNER

L.H. (1 USED WITH 48" BUCKET)

ARшт.

8

T252

TOOTH

(B) (6 USED WITH 48" BUCKET)

ARшт.

9

U45574

PIN

(B) FLEX (6 USED WITH 48" BUCKET)

ARшт.

10

T440X252

BUCKET TOOTH ADAPTER

(B) (SUB FOR U45349)

1шт.

11

U45348

CUTTING EDGE

(48") BUCKET

1шт.

U45354

CUTTING EDGE

(60") BUCKET

1шт.

12

U45346

CUTTING EDGE

SIDE, R.H

1шт.

U45347

CUTTING EDGE

SIDE, L.H

1шт.

13

TH104512

WASHER

2шт.

14

TH104513

SHIM

9шт.

15

TH104514

SPACER

1шт.

16

12H294

LOCK WASHER

5/8"

3шт.

17

19M7409

CAP SCREW

M16 X 50

3шт.

18

EXCAVATOR BUCKET

1 219 MM (48") ( AT90215 NO LONGER AVAILABLE)

1шт.

EXCAVATOR BUCKET

1 524 MM (60") ( AT90216 NO LONGER AVAILABLE)

1шт.

Выбрано товаров: 22