Запчасти John Deere 90D 4 - PILOT CONTROL FOOT VALVE 3360 - BACKHOE AND EXCAVATOR 33

Схема запчастей John Deere 90D - 4 - PILOT CONTROL FOOT VALVE 3360 - BACKHOE AND EXCAVATOR 33
FIT
1:1
100%

Артикул

Название

Примечание

Количество

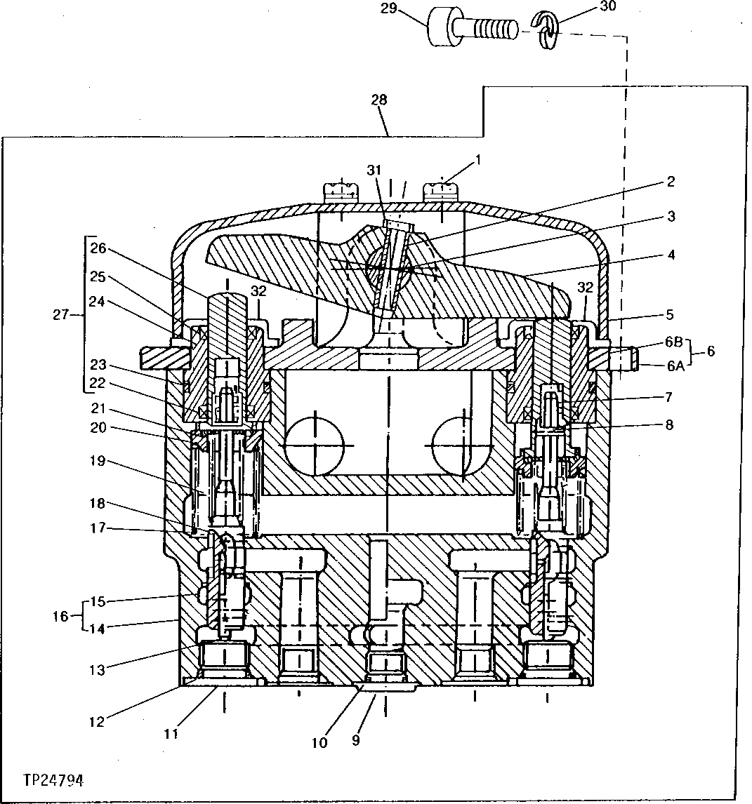
1

19M8425

CAP SCREW

M6 X 16, (SUB FOR 19M7560)

2шт.

12M7006

LOCK WASHER

6 MM

2шт.

24M7054

WASHER

6.400 X 12 X 1.600 MM

2шт.

2

34M7225

SPRING PIN

8 X 28 MM, (SUB FOR 34M6402)

2шт.

3

4190983

PIN FASTENER

(SUB FOR TH109244)

2шт.

4

3035803

CAM

(SUB FOR TH109243)

2шт.

5

2022964

COVER

(SUB FOR TH109246)

1шт.

6

9085785

HOLDER

(SUB FOR TH109242) (SUB TH111961)

1шт.

9085785

HOLDER

(SUB FOR TH111961)

1шт.

6A

HOLDER

(SUB TH111961) ( TH111962 NO LONGER AVAILABLE)

1шт.

6B

4238834

BUSHING

(SUB FOR TH111963)

4шт.

7

4211118

COMPRESSION SPRING

(SUB FOR T108158)

4шт.

8

4203411

SHIM

(SUB FOR T108159)

10шт.

9

4208977

DRAIN PLUG

(SUB FOR T107790, THIS APPLICATION) (SUB FOR TH111351)

2шт.

10

CH11570

O-RING

2шт.

11

4185057

DRAIN PLUG

(USE WITH AT114915) (SUB FOR TH109241)

4шт.

9111583

FITTING PLUG

(USE WITH AT159868) (SUB FOR AT134350)

4шт.

12

CH11570

O-RING

4шт.

13

4184929

PISTON

(SUB FOR TH109228)

4шт.

14

HOUSING

(SUB AT114915)

1шт.

15

SPOOL

(SUB AT114915)

4шт.

16

7026885

FLOW CONTROL HYD. VALVE

(SUB FOR AT114915) (ALSO ORDER (4) AT134350) (SUB FOR AT159868)

1шт.

17

4203413

COMPRESSION SPRING

(SUB FOR TH109236)

4шт.

18

4173208

SHIM

(SUB FOR TH109217)

10шт.

19

4211117

SPRING

(SUB FOR T108157)

4шт.

20

4203412

GUIDE

(SUB FOR TH109237)

4шт.

21

4177777

SPACER

(SUB FOR TH109216)

4шт.

22

4240151

SEAL

(SUB FOR TH109224)

1шт.

23

U46166

O-RING

1шт.

24

BUSHING

(SUB AT128306) ( TH109239 NO LONGER AVAILABLE)

1шт.

BUSHING

(SUB AT128306)

1шт.

25

4240150

SEAL

(SUB FOR TH109222) (SUB FOR TH111960)

1шт.

26

PLUNGER

(SUB AT128306)

1шт.

27

9089354

PLUNGER

(SUB FOR AT90603) (SUB FOR AT128306) ASSEMBLY

4шт.

9089354

PLUNGER

(SUB FOR AT128306)

4шт.

28

9076005

FLOW CONTROL HYD. VALVE

(SUB FOR AT107181)

1шт.

29

19M8440

SCREW

2шт.

30

12M7066

LOCK WASHER

10 MM

2шт.

31

4213419

SPRING PIN

(SUB FOR TH111654)

2шт.

32

4241449

COVER

(SUB FOR T121740) DUST - BLACK - (5.5 MM)

4шт.

4241450

COVER

(SUB FOR T121741) DUST - GREEN - (6.25 MM)

4шт.

4241451

COVER

(SUB FOR T121742) DUST - WHITE - (7.0 MM)

4шт.

Выбрано товаров: 0