Запчасти John Deere 90D 25A - SWING VALVE SPACER PLATE 3360 - BACKHOE AND EXCAVATOR 33

Схема запчастей John Deere 90D - 25A - SWING VALVE SPACER PLATE 3360 - BACKHOE AND EXCAVATOR 33
FIT
1:1
100%

Артикул

Название

Примечание

Количество

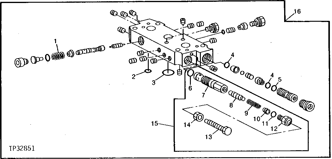
1

T130494

SPRING

1шт.

2

T107877

O-RING

2шт.

3

R61871

O-RING

3шт.

4

T74550

O-RING

2шт.

5

T74553

O-RING

1шт.

6

T104109

O-RING

1шт.

7

SLEEVE

(SUB AT149811)

1шт.

8

PISTON

(SUB AT149811)

1шт.

9

T130500

SPRING

1шт.

10

RETAINER

(SUB AT149811)

1шт.

11

T130501

O-RING

(SUB AT149811)

1шт.

12

PLUG

(SUB AT149811)

1шт.

13

SCREW

(SUB AT149811)

1шт.

14

NUT

(SUB AT149811)

1шт.

15

AT149811

PRESSURE RELIEF VALVE

1шт.

16

AT149810

PLATE

1шт.

Выбрано товаров: 0