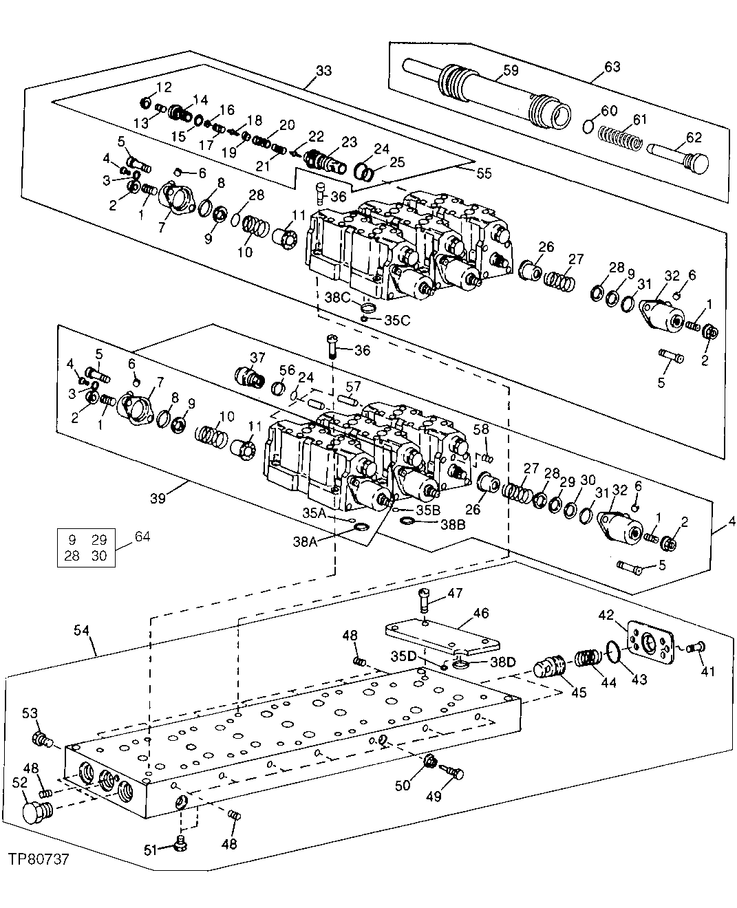
Запчасти John Deere 90D 28 - CONTROL VALVE AND MANIFOLD - CONTINUED 3360 - BACKHOE AND EXCAVATOR 33

Схема запчастей John Deere 90D - 28 - CONTROL VALVE AND MANIFOLD - CONTINUED 3360 - BACKHOE AND EXCAVATOR 33
FIT
1:1
100%

Артикул

Название

Примечание

Количество

31

T72221

O-RING

6шт.

32

T107941

CAP

6шт.

33

AT115225

SPOOL VALVE

(SUB FOR AT115238) BOOM, ARM AND BUCKET

3шт.

35A

T107877

O-RING

2шт.

35B

T107877

O-RING

4шт.

35C

T107877

O-RING

6шт.

35D

T107877

O-RING

2шт.

36

19M8211

SCREW

M10 X 45

24шт.

19M8574

SCREW

M10 X 85, PROPEL VALVE SECTIONS, (SUB FOR 19M8559)

8шт.

19M8211

SCREW

M10 X 45

16шт.

37

AT125520

CHECK VALVE

6шт.

38A

R61871

O-RING

3шт.

38B

R61871

O-RING

6шт.

38C

R61871

O-RING

9шт.

38D

R61871

O-RING

3шт.

39

AT125521

ELEC.PROPORTIONAL VALVE

(SUB FOR AT112753) SWING

1шт.

40

AT149808

HYD ACTUATED CONTROL VALVE

(SUB FOR AT125522) (SUB FOR AT112754) PROPEL (RIGHT AND LEFT TRACK)

2шт.

AT149808

HYD ACTUATED CONTROL VALVE

2шт.

41

19M8581

SCREW

M5 X 20

4шт.

42

T107935

FLANGE

2шт.

43

T107879

O-RING

2шт.

44

T107853

SPRING

2шт.

45

T107939

POPPET

2шт.

46

T107942

COVER

1шт.

47

19M8328

SCREW

M10 X 25

4шт.

48

15M7032

PIPE PLUG

16шт.

49

T107816

SCREW

1шт.

50

T104110

NUT

1шт.

51

R27216

DRAIN PLUG

2шт.

R26448

O-RING

(SUB FOR T70177)

2шт.

52

R36636

FITTING PLUG

3шт.

R29936

O-RING

3шт.

53

R27474

DRAIN PLUG

1шт.

R26906

O-RING

(SUB FOR R47151)

1шт.

54

AT115239

MANIFOLD

1шт.

55

PRESSURE RELIEF VALVE

( AT112743 NLA)

6шт.

AT125518

PRESSURE RELIEF VALVE

6шт.

56

R80632

O-RING

(SUB FOR R68512)

6шт.

57

T115242

PIN

2шт.

58

22M7095

SET SCREW

M5 X 6

6шт.

59

SPOOL

INNER

1шт.

60

BALL

1шт.

61

T138083

SPRING

BALANCE, PROPEL VALVE SECTIONS

1шт.

62

T142203

FITTING PLUG

1шт.

63

SPOOL

INNER SPOOL ASSEMBLY OF AT149808 PROPEL VALVE SECTIONS

1шт.

64

AT112818

SHIM KIT

1шт.

Выбрано товаров: 0