Качественные детали и логистика
Оригинальные и аналоговые запчасти с доставкой по России, Казахстану и Беларуси
©2022 PartSell ООО "Система" ИНН 2463123282 ОГРН 1212400004838
Центральный офис: г. Красноярск, Академика Киренского, д.87, пом.4
Телефон: 8 (800) 777-65-74 Email: zakaz@partsell.ru
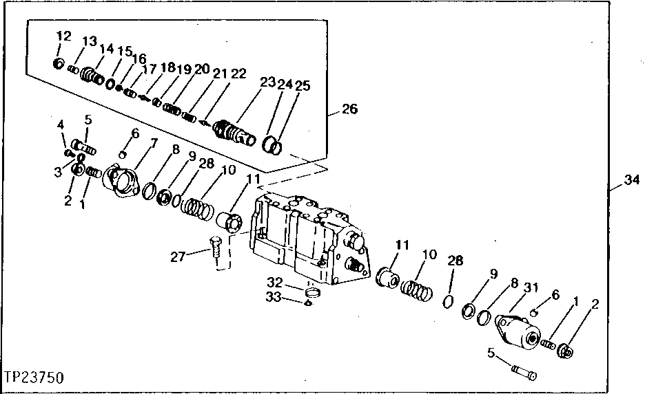
82 - CYLINDER AUXILIARY VALVE (690D)
№
Артикул
Название
Примечание
Количество
1
T107822
SCREW
4шт.
2
T107964
NUT
3
RING
SEALING 6.2 MM ID ( 51M4229 NO LONGER AVAILABLE)
2шт.
4
19M7302
CAP SCREW
M6 X 8
5
19M7660
M8 X 20
8шт.
6
AT112756
CHECK VALVE
7
T107940
CAP
BLEED HOLE, TOP OF VALVE
8
T72221
O-RING
9
24M7199
SHIM
(K) 0.500 MM
10
T107862
SPRING
11
T107943
Выбрано товаров: 0