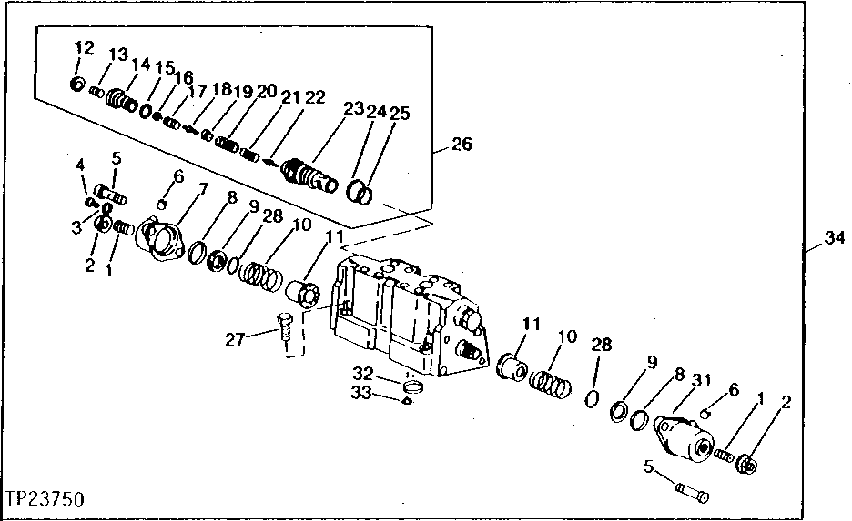
Запчасти John Deere 90D 83 - CYLINDER AUXILIARY VALVE 3360 - BACKHOE AND EXCAVATOR 33

Схема запчастей John Deere 90D - 83 - CYLINDER AUXILIARY VALVE 3360 - BACKHOE AND EXCAVATOR 33
FIT
1:1
100%

Артикул

Название

Примечание

Количество

12

T107963

NUT

4шт.

T115240

NUT

4шт.

13

T107820

SCREW

4шт.

T115239

SCREW

4шт.

14

RELIEF VALVE

(SUB AT112743 OR AT125518)

4шт.

15

T16975

O-RING

4шт.

16

RELIEF VALVE

(SUB AT112743 OR AT125518)

4шт.

17

SPRING

(SUB AT112743 OR AT125518)

4шт.

18

RELIEF VALVE

(SUB AT112743 OR AT125518)

4шт.

19

RELIEF VALVE

(SUB AT112743 OR AT125518)

4шт.

20

SPRING

(SUB AT112743 OR AT125518)

4шт.

21

SPRING

(SUB AT112743 OR AT125518)

4шт.

22

RELIEF VALVE

(SUB AT112743 OR AT125518)

4шт.

23

RELIEF VALVE

(SUB AT112743 OR AT125518)

4шт.

24

T74549

O-RING

4шт.

25

T107873

BACK-UP RING

4шт.

R80632

O-RING

(SUB FOR R68512)

4шт.

26

PRESSURE RELIEF VALVE

( AT112743 NLA)

4шт.

AT125518

PRESSURE RELIEF VALVE

4шт.

27

19M8211

SCREW

M10 X 45

8шт.

28

WASHER

(K) (30 X 42 X 1)

4шт.

29

WASHER

(K) (30 X 42 X 0,1)

ARшт.

30

WASHER

(K) (30 X 42 X 0,3)

ARшт.

31

T107941

CAP

2шт.

32

R61871

O-RING

4шт.

33

T107877

O-RING

9шт.

34

AT115225

SPOOL VALVE

2шт.

Выбрано товаров: 0