Запчасти John Deere 90D 94 - SUPER LONG FRONT ARM CYLINDER 3360 - BACKHOE AND EXCAVATOR 33

Схема запчастей John Deere 90D - 94 - SUPER LONG FRONT ARM CYLINDER 3360 - BACKHOE AND EXCAVATOR 33
FIT
1:1
100%

Артикул

Название

Примечание

Количество

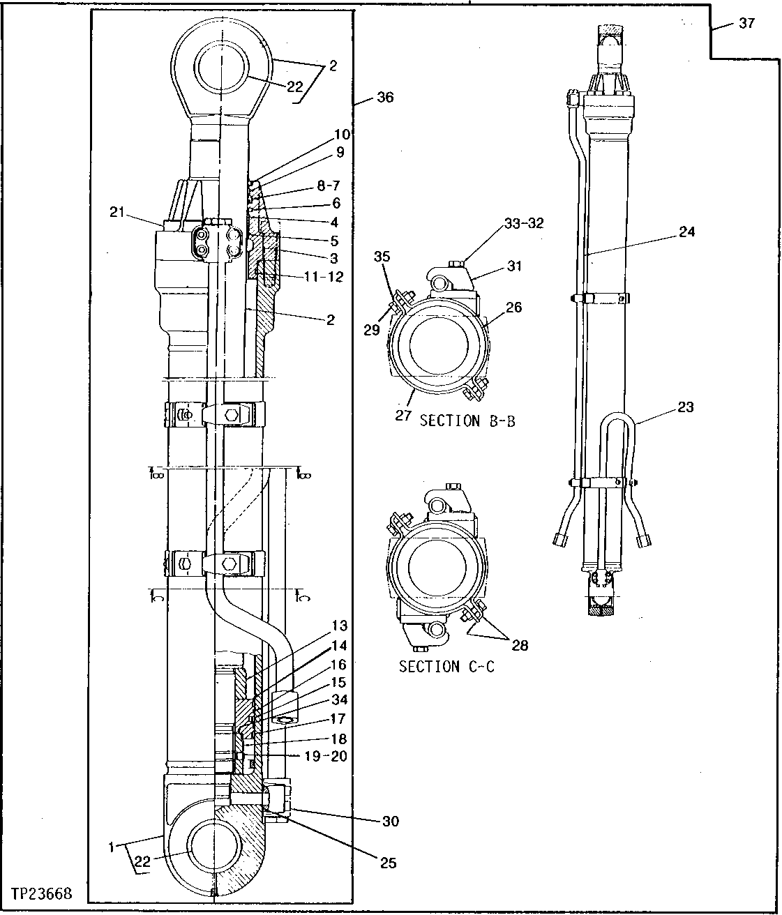
1

HYDRAULIC CYLINDER BARREL

( 4241422 NO LONGER AVAILABLE) (SUB FOR AT125544)

1шт.

2

4228681

ROD

(SUB FOR AT125545) (SUB FOR AT125501)

1шт.

3

HYDRAULIC CYLINDER CAP

(SUB FOR T115107) ( 0325903 NOT AVAILABLE FOR SERVICE)

1шт.

4

AT264321

BUSHING

(SUB FOR T115108, 0325904)

1шт.

5

0237407

RING

(SUB FOR TH102834)

1шт.

6

AT264323

RING

(K) (SUB FOR T115209, 0325905)

1шт.

7

0973906

PACKING

(K) (SUB FOR TH102842, 0105301, AT264350)

1шт.

8

AT264351

BACK-UP RING

(K) (SUB FOR TH102843, 0237419)

1шт.

9

AT264322

RING

(SUB FOR T115110, 0325906)

1шт.

10

AT264352

SEAL

(K) (SUB FOR TH102844, 0237420)

1шт.

11

AT264339

O-RING

(K) (SUB FOR TH100122)

1шт.

12

AT264363

BACK-UP RING

(K) (SUB FOR 4S00201) (SUB FOR TH104956)

1шт.

13

0299810

BEARING

(SUB FOR T115111)

1шт.

14

0309008

PISTON

(SUB FOR T108038)

1шт.

15

AT264361

SEAL

(K) (SUB FOR 0223706) (SUB FOR TH104948)

1шт.

16

AT264313

RING

(SUB FOR T108024)

2шт.

17

AT264362

PISTON RING

(SUB FOR TH104949)

2шт.

18

0309010

NUT

(SUB FOR T108025)

1шт.

19

22M6684

SET SCREW

M12 X 12

1шт.

20

T13624

BALL

1шт.

21

19M8131

SCREW

(SUB FOR T115112 OR T108028) (SUB FOR TH104941)

8шт.

22

0140808

BUSHING

(SUB FOR TH104905)

2шт.

23

0325908

OIL LINE

(SUB FOR AT120796)

1шт.

24

OIL LINE

(SUB FOR AT120797) ( 0325909 NOT AVAILABLE FOR SERVICE)

1шт.

25

AT264360

O-RING

(SUB FOR TH104930, 4506430)

2шт.

26

0325910

CLAMP

(SUB FOR T115113)

1шт.

27

0325911

CLAMP

(SUB FOR T115114)

1шт.

28

0325912

CLAMP

(SUB FOR T115115)

2шт.

29

19M7550

CAP SCREW

M10 X 35

4шт.

30

19M8213

SCREW

M10 X 50, (SUB FOR T108034)

8шт.

31

T108036

CLAMP

3шт.

32

19M7361

CAP SCREW

M12 X 50, (SUB FOR T108037)

3шт.

33

12M7058

LOCK WASHER

12 MM, (SUB FOR 12M7067)

3шт.

34

0309013

SHIM

(SUB FOR T108030)

1шт.

35

12M7066

LOCK WASHER

10 MM, (SUB FOR TH111733)

4шт.

36

4241421

HYDRAULIC CYLINDER

(SUB FOR AT86767)

1шт.

37

HYDRAULIC CYLINDER

( AT120772 NO LONGER AVAILABLE)

1шт.

38

SEAL KIT

( AT120798 NO LONGER AVAILABLE) (ALSO ORDER T115110, (2) T108024 AND (2) TH104949)

1шт.

Выбрано товаров: 0