Запчасти John Deere 90D 4 - SWING MOTOR CROSSOVER RELIEF VALVES 4360 - SWING, ROTATION OR PIVOTING SYSTEM 43

Схема запчастей John Deere 90D - 4 - SWING MOTOR CROSSOVER RELIEF VALVES 4360 - SWING, ROTATION OR PIVOTING SYSTEM 43
FIT
1:1
100%

Артикул

Название

Примечание

Количество

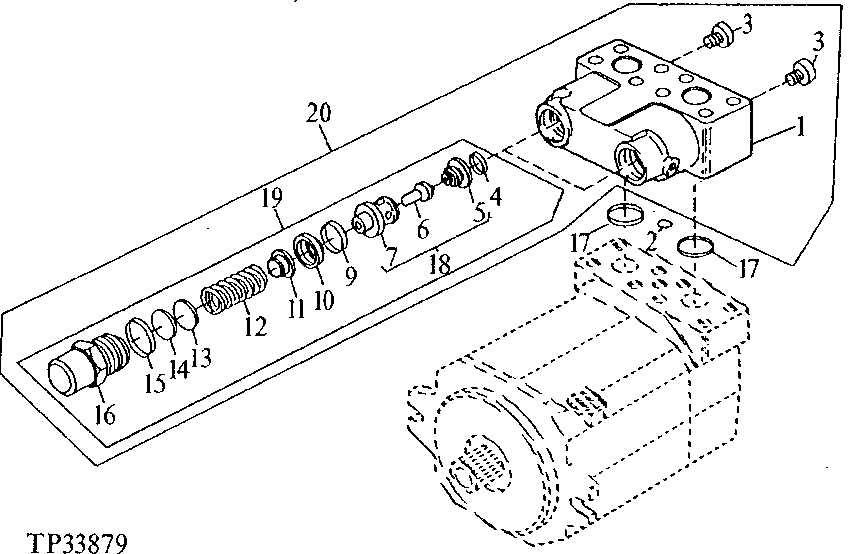
1

T107930

HOUSING

1шт.

2

R104558

O-RING

(SUB FOR T107878)

1шт.

3

AT112799

FITTING PLUG

2шт.

4

R80632

O-RING

(SUB FOR R68512)

2шт.

5

VALVE SEAT

(SUB AT130049)

1шт.

6

PLUNGER

(SUB AT130049)

1шт.

7

SPOOL VALVE

(SUB AT130049)

1шт.

9

T74497

O-RING

1шт.

10

T121835

O-RING

1шт.

11

T121836

PLATE

1шт.

12

T108003

SPRING

1шт.

13

T121837

SOLID SHIM

ARшт.

14

T121838

SOLID SHIM

ARшт.

15

T74549

O-RING

1шт.

16

T121839

HOUSING

1шт.

17

T107888

O-RING

2шт.

18

AT130049

PRESSURE RELIEF VALVE

1шт.

19

AT130046

PRESSURE RELIEF VALVE

2шт.

20

AT130045

PRESSURE RELIEF VALVE

1шт.

Выбрано товаров: 19