Запчасти John Deere 90D 1 - RELIEF VALVE 260 - AXLES AND SUSPENSION SYSTEMS 2

Схема запчастей John Deere 90D - 1 - RELIEF VALVE 260 - AXLES AND SUSPENSION SYSTEMS 2
FIT
1:1
100%

Артикул

Название

Примечание

Количество

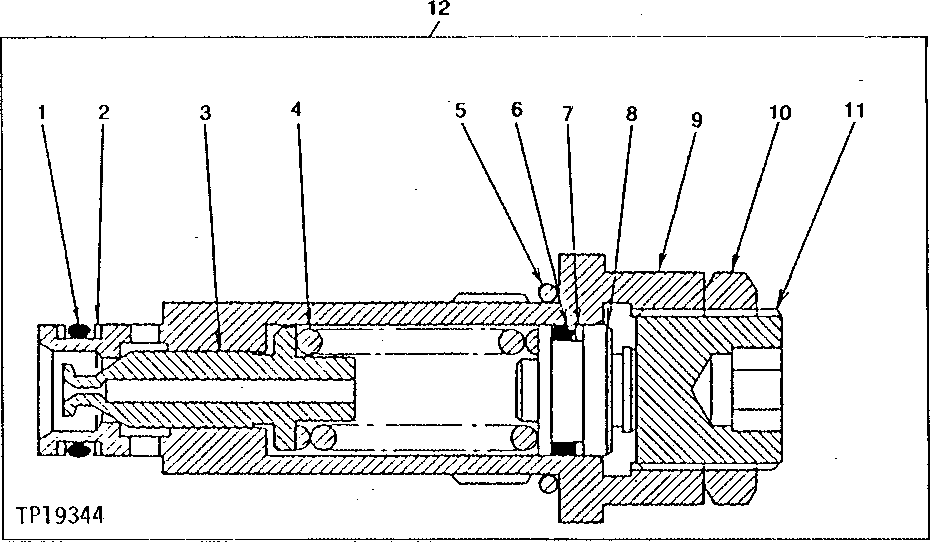
1

CH11570

O-RING

1шт.

2

4038533

BACK-UP RING

(SUB FOR TH100050)

2шт.

3

PISTON

( T107800 NO LONGER AVAILABLE)

1шт.

4

COMPRESSION SPRING

( T107797 NO LONGER AVAILABLE)

1шт.

5

AT318035

O-RING

(SUB FOR 4506424, TH100055)

1шт.

6

CH11570

O-RING

1шт.

7

4038533

BACK-UP RING

(SUB FOR TH100050)

1шт.

8

PLUG

( T107798 NO LONGER AVAILABLE)

1шт.

9

HOUSING

(SUB AT112590 OR AT90578)

1шт.

10

NUT

( TH100057 NO LONGER AVAILABLE)

1шт.

11

SET SCREW

( TH100056 NO LONGER AVAILABLE)

1шт.

12

9074972

RELIEF VALVE

(SUB FOR AT112590) PROPEL, CROSSOVER

1шт.

9085428

RELIEF VALVE

(SUB FOR AT90578)

1шт.

Выбрано товаров: 13