Запчасти John Deere 90D 4 - TIMING GEAR COVER 402 - ENGINE 4

Схема запчастей John Deere 90D - 4 - TIMING GEAR COVER 402 - ENGINE 4
FIT
1:1
100%

Артикул

Название

Примечание

Количество

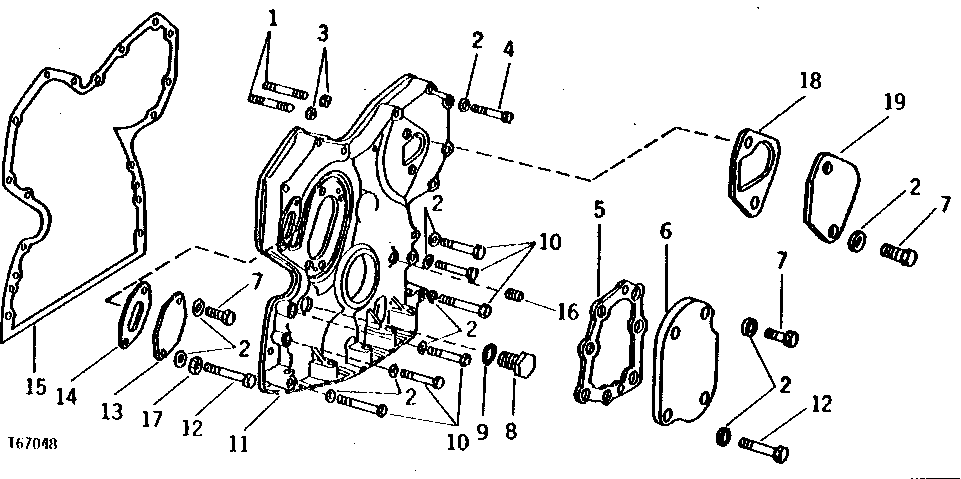
1

R122226

STUD

2шт.

2

24M7106

WASHER

10 X 18 X 2.500 MM

ARшт.

3

14H812

NUT

3/8"

2шт.

12H304

LOCK WASHER

3/8"

2шт.

4

19H3031

CAP SCREW

3/8" X 2-1/2"

8шт.

5

T20273

GASKET

1шт.

6

T20272

COVER

1шт.

7

19H2284

CAP SCREW

3/8" X 7/8"

2шт.

R124277

CAP SCREW

(USE WITH T23260 OR (2) R126041) (SUB FOR R122618, THIS APPLICATION)

3шт.

8

T27657

FITTING PLUG

1шт.

9

A4827R

WASHER

1шт.

10

19H2549

CAP SCREW

3/8" X 1-7/8"

5шт.

19H3219

CAP SCREW

3/8" X 1-3/8"

5шт.

11

AR58196

COVER

WITH INSERTS, (MARKED R52880) (ALSO ORDER T20272, T20273, (3) 19H2284, 19H1726, (4) 24H1304 AND 15H275)

1шт.

12

19H1726

CAP SCREW

3/8" X 2-1/4"

2шт.

13

T23260

COVER

1шт.

14

R97352

GASKET

(SUB FOR T20336)

1шт.

15

R126513

GASKET

(SUB FOR T20155, R97454, R119269 OR R121314)

1шт.

16

15H275

PIPE PLUG

1/4", HEX. CTSK

1шт.

17

12H304

LOCK WASHER

3/8"

1шт.

18

R125066

GASKET

(SUB FOR R78366 OR R97773)

1шт.

19

R126041

COVER

(SUB FOR T20362)

1шт.

Выбрано товаров: 22