Запчасти John Deere 90D 2 - ENGINE VENTILATOR TUBE 408 - ENGINE 4

Схема запчастей John Deere 90D - 2 - ENGINE VENTILATOR TUBE 408 - ENGINE 4
FIT
1:1
100%

Артикул

Название

Примечание

Количество

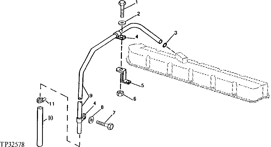
1

19H1919

CAP SCREW

1/4" X 5/8"

1шт.

2

R64764

WASHER

1шт.

R64764

WASHER

1шт.

3

R56463

O-RING

1шт.

R56463

O-RING

1шт.

4

P42987

CLAMP

2шт.

5

R60075

BRACKET

1шт.

R60075

BRACKET

1шт.

6

14H786

NUT

1/4"

1шт.

7

19H2284

CAP SCREW

3/8" X 7/8"

1шт.

8

24H1287

WASHER

9/32" X 5/8" X 0.065"

1шт.

9

R78081

TUBE

1шт.

10

R88910

HOSE

DO NOT REPLACE

NAшт.

11

AR21837

CLAMP

DO NOT REPLACE

NAшт.

Выбрано товаров: 14