Запчасти John Deere 90D 6 - FUEL INJECTION SYSTEM 413 - ENGINE 4

Схема запчастей John Deere 90D - 6 - FUEL INJECTION SYSTEM 413 - ENGINE 4
FIT
1:1
100%

Артикул

Название

Примечание

Количество

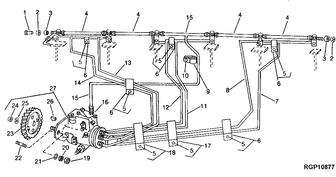
1

16H658

RIVET

1/4" X 5/8"

1шт.

2

R51937

TUBE NUT

2шт.

3

R51936

SEALING WASHER

12шт.

4

R66090

TUBE

(SUB RE68748)

4шт.

RE68748

TUBE

(INCLUDES (2) R51936 AND (2) R123593)

4шт.

5

19M7300

CAP SCREW

M6 X 10

7шт.

6

RE19797

CLAMP

5шт.

7

RE19795

FUEL LINE

NO. 5

1шт.

8

RE19796

FUEL LINE

NO. 6

1шт.

9

T29969

CLAMP

1шт.

10

19H1648

CAP SCREW

3/8" X 3/4"

1шт.

11

RE19793

FUEL LINE

NO. 3

1шт.

12

RE19794

FUEL LINE

NO. 4

1шт.

13

RE19791

FUEL LINE

NO. 1

1шт.

14

RE19792

FUEL LINE

NO. 2

1шт.

15

AR85615

LINE

LEAK-OFF

1шт.

16

R35352

FITTING

1шт.

17

RE19799

CLAMP

1шт.

18

RE19800

CLAMP

1шт.

19

14H785

NUT

5/16"

3шт.

20

12H303

LOCK WASHER

5/16"

3шт.

21

T27860

WASHER

3шт.

22

R56055

STUD

3шт.

23

R56056

GEAR

(48 TEETH)

1шт.

24

R56422

NUT

1шт.

25

R56423

WASHER

1шт.

26

H64373

SHAFT KEY

(SUB FOR R56424 OR M114270) (CUT)

1шт.

27

RE32294

FUEL INJECTION PUMP

(A) ROOSA-MASTER NO. DM4627-4587, (SUB FOR RE27516)

1шт.

SE500636

FUEL INJECTION PUMP

(REMANUFACTURED FOR RE32294)

1шт.

SE500637

FUEL INJECTION PUMP

(REMANUFACTURED FOR RE27516)

1шт.

Выбрано товаров: 30