Запчасти John Deere 90D 8 - FUEL INJECTION SYSTEM 413 - ENGINE 4

Схема запчастей John Deere 90D - 8 - FUEL INJECTION SYSTEM 413 - ENGINE 4
FIT
1:1
100%

Артикул

Название

Примечание

Количество

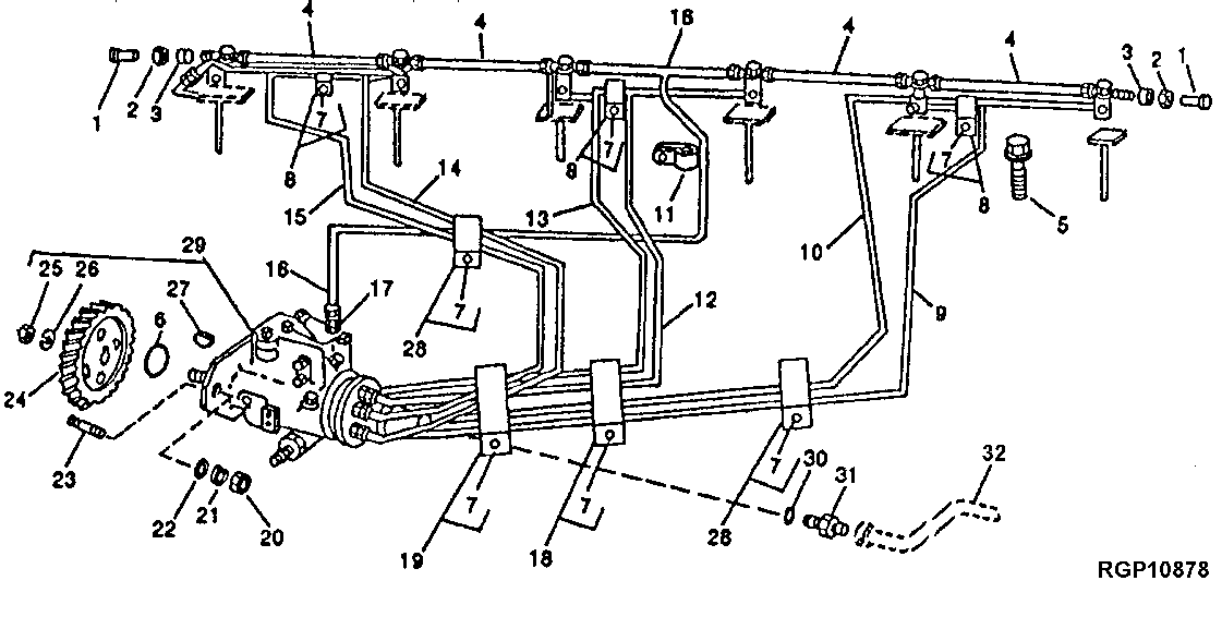
1

16H658

RIVET

1/4" X 5/8"

2шт.

2

R51937

TUBE NUT

2шт.

3

R51936

SEALING WASHER

12шт.

4

R66090

TUBE

(SUB RE68748)

4шт.

RE68748

TUBE

(INCLUDES (2) R51936 AND (2) R123593)

4шт.

5

R101201

CAP SCREW

6шт.

6

R502076

O-RING

(SUB FOR R89944)

1шт.

7

19M7300

CAP SCREW

M6 X 10

2шт.

19M7923

CAP SCREW

M6 X 12, (USE WITH RE19797)

5шт.

8

RE19797

CLAMP

3шт.

9

RE40386

FUEL LINE

NO. 5

1шт.

10

RE40387

FUEL LINE

NO. 6

1шт.

11

T29969

CLAMP

1шт.

12

RE40384

FUEL LINE

NO. 3

1шт.

13

RE40385

FUEL LINE

NO. 4

1шт.

14

RE43986

FUEL LINE

NO. 1

1шт.

15

RE40383

FUEL LINE

NO. 2

1шт.

16

AR85615

LINE

LEAK-OFF

1шт.

17

R35352

FITTING

1шт.

18

RE19799

CLAMP

1шт.

19

RE19800

CLAMP

1шт.

20

14H785

NUT

5/16"

3шт.

21

12H303

LOCK WASHER

5/16"

3шт.

22

T27860

WASHER

3шт.

23

T23442

STUD

3шт.

24

R104907

GEAR

(48 TEETH)

1шт.

25

R91360

NUT

1шт.

26

R132874

WASHER

(SUB FOR R48600)

1шт.

27

H64373

SHAFT KEY

(SUB FOR R56424 OR M114270)

1шт.

28

RE19797

CLAMP

(SUB FOR RE19798)

2шт.

29

RE49414

FUEL INJECTION PUMP

(A) (STANADYNE NO. DB4) (TDW03) (SUB FOR RE42698)

1шт.

SE500531

FUEL INJECTION PUMP

(REMANUFACTURED FOR RE49414) (6068TDW03)

1шт.

RE49416

FUEL INJECTION PUMP

(A) (STANADYNE NO. DB4) (TDW03) (SUB FOR RE42714) (ALSO ORDER R48599 AND R132874)

1шт.

SE500649

FUEL INJECTION PUMP

(REMANUFACTURED FOR RE49416) (TDW03)

1шт.

30

R26286

O-RING

(STANADYNE NO. DB4-4840)

1шт.

31

R27272

FITTING

1шт.

32

LINE

(TO FUEL FILTER)

1шт.

Выбрано товаров: 37