Запчасти John Deere 90D 4 - RADIATOR, RADIATOR HOSES, MOUNTING AND COOLANT RECOVERY SYSTEM 510 - ENGINE AUXILIARY SYSTEMS 5

Схема запчастей John Deere 90D - 4 - RADIATOR, RADIATOR HOSES, MOUNTING AND COOLANT RECOVERY SYSTEM 510 - ENGINE AUXILIARY SYSTEMS 5
FIT
1:1
100%

Артикул

Название

Примечание

Количество

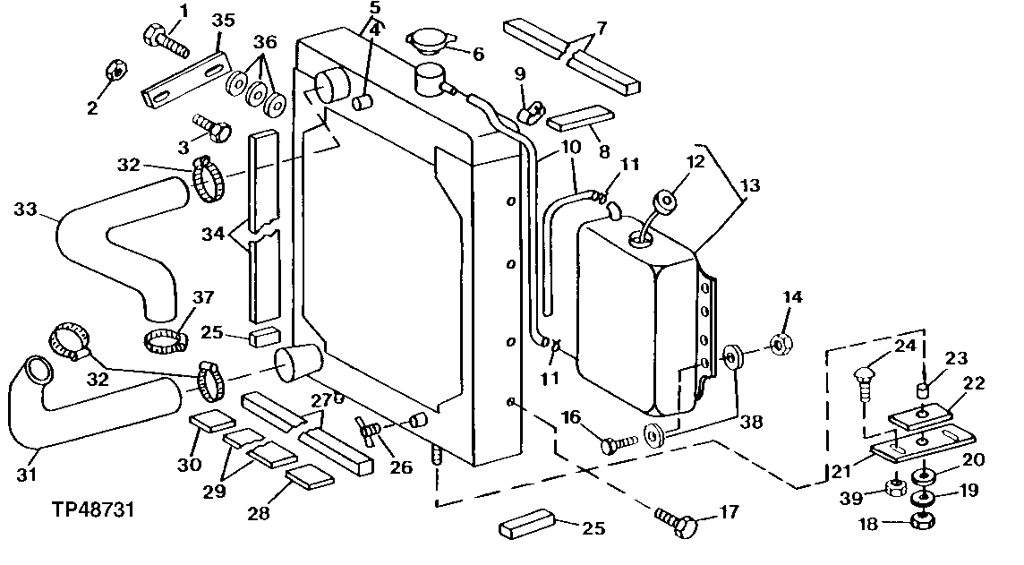
1

19M7784

SCREW

M10 X 20

1шт.

2

14M7296

FLANGE NUT

M10

1шт.

3

19M8162

SCREW

M10 X 40

1шт.

4

AT47622

GAUGE

GLASS, WITH O-RING

1шт.

5

AT115124

RADIATOR

1шт.

6

AT165587

FILLER CAP

(SUB FOR AT132814, THIS APPLICATION) (SUB FOR AT165587)

1шт.

7

ISOLATOR

(MAKE FROM T69622 BULK MATERIAL, CUT TO LENGTH)

1шт.

8

ISOLATOR

(MAKE FROM T69622 BULK MATERIAL, CUT TO LENGTH)

1шт.

9

AH89557

CLIP

HOSE TO SHROUD CAPSCREWS

3шт.

10

HOSE

(MAKE FROM T119816 BULK MATERIAL, CUT TO LENGTH)

2шт.

11

R56101

CLIP

2шт.

12

AT106413

CAP

1шт.

13

AT162597

TANK

(SUB FOR AT104021)

1шт.

16

19M7866

SCREW

M8 X 20

4шт.

17

19M7784

SCREW

M10 X 20

8шт.

18

14M7299

FLANGE NUT

M12

2шт.

19

24H1204

WASHER

9/16" X 1-15/32" X 0.075"

2шт.

20

U45315

WASHER

2шт.

21

T79226

STRAP

2шт.

22

U45318

STRAP

2шт.

23

M43318

BUSHING

2шт.

24

19M7835

SCREW

M10 X 35

4шт.

25

ISOLATOR

(MAKE FROM T69622 BULK MATERIAL, CUT TO LENGTH)

2шт.

26

AT13740

DRAIN VALVE

1шт.

27

ISOLATOR

(MAKE FROM T69622 BULK MATERIAL, CUT TO LENGTH)

1шт.

28

ISOLATOR

(MAKE FROM AT66778 BULK MATERIAL, CUT TO LENGTH)

1шт.

29

ISOLATOR

(MAKE FROM AT66778 BULK MATERIAL, CUT TO LENGTH)

1шт.

30

ISOLATOR

(MAKE FROM AT66778 BULK MATERIAL, CUT TO LENGTH)

1шт.

31

T114533

RADIATOR HOSE

1шт.

32

AR21999

HOSE CLAMP

3шт.

33

T114551

RADIATOR HOSE

2шт.

34

WEATHERSTRIP

(MAKE FROM AT66778 BULK MATERIAL, CUT TO LENGTH)

1шт.

35

H80636

STRAP

1шт.

36

24M7296

WASHER

10.500 X 30 X 2.500 MM

3шт.

37

AR40418

HOSE CLAMP

1шт.

38

24M7238

WASHER

8.700 X 17 X 2 MM

8шт.

39

14M7296

FLANGE NUT

M10

4шт.

Выбрано товаров: 37