Запчасти John Deere 90D 1 - ENGINE MOUNTS 540 - ENGINE AUXILIARY SYSTEMS 5

Схема запчастей John Deere 90D - 1 - ENGINE MOUNTS 540 - ENGINE AUXILIARY SYSTEMS 5
FIT
1:1
100%

Артикул

Название

Примечание

Количество

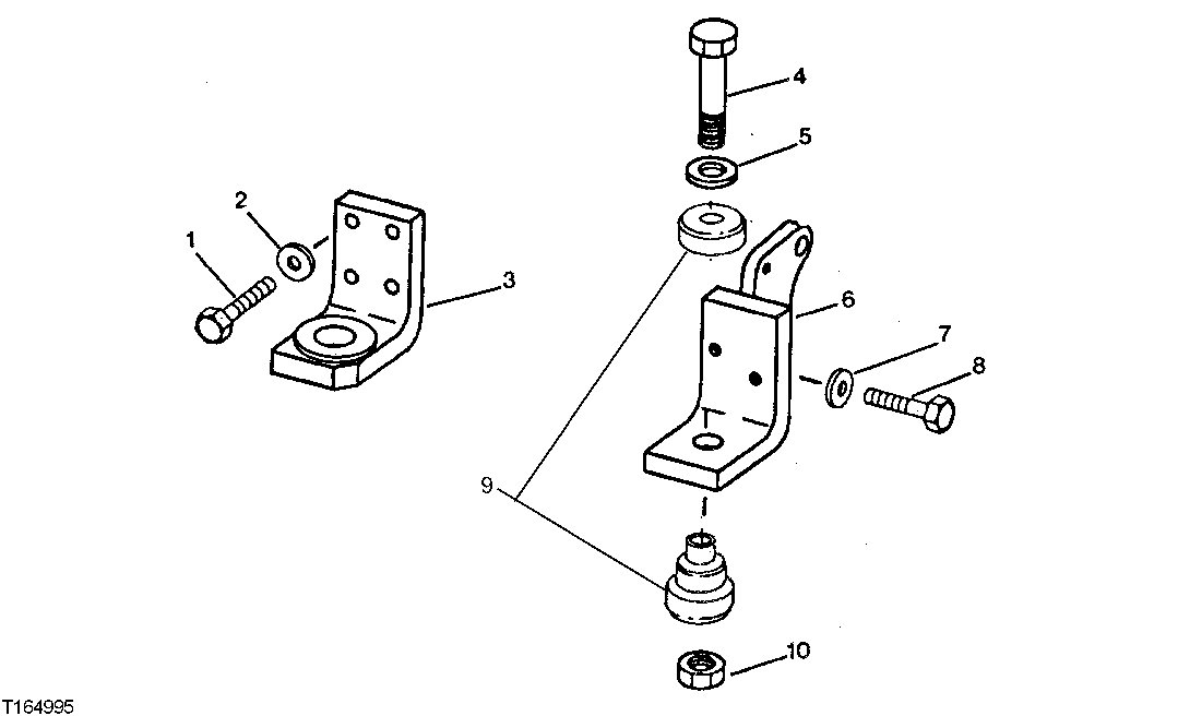
1

19H2993

CAP SCREW

1/2" X 1-1/2"

8шт.

2

T21242

WASHER

8шт.

3

AT115042

BRACKET

2шт.

N171786

WASHER

2шт.

4

19H2826

CAP SCREW

3/4" X 4-1/2"

4шт.

5

R20136

WASHER

4шт.

6

AT179735

BRACKET

RIGHT, (SUB FOR AT107479)

1шт.

AT107480

BRACKET

LEFT (NOT ILLUSTRATED)

1шт.

7

24M7241

WASHER

17 X 34 X 4 MM

4шт.

8

19H2588

CAP SCREW

5/8" X 1-7/8"

4шт.

9

AT102326

ISOLATOR

(SUB FOR T100292)

4шт.

10

14H1058

NUT

3/4"

4шт.

Выбрано товаров: 12