Запчасти John Deere 90ELC 114 - Engine Mounts 0540 Mounting Frame

Схема запчастей John Deere 90ELC - 114 - Engine Mounts 0540 Mounting Frame
FIT
1:1
100%

Артикул

Название

Примечание

Количество

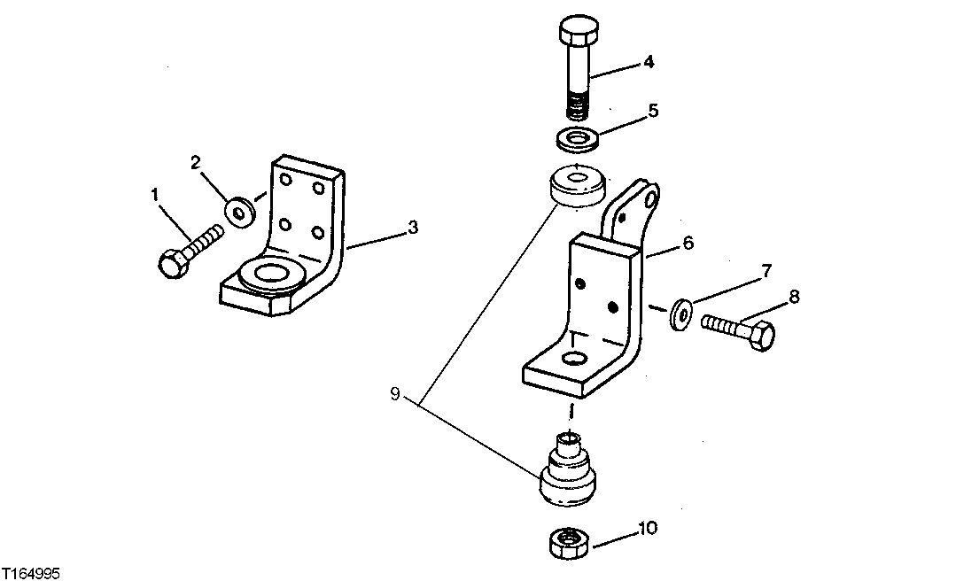
1

19H2473

Cap Screw

1/2" X 1-3/4"

8шт.

19M7496

Cap Screw

M12 X 45

8шт.

2

T29342

Washer

8шт.

3

AT115042

Bracket

REAR

2шт.

4

19M7968

Cap Screw

M20 X 130

4шт.

5

T42977

Washer

4шт.

6

AT179735

Bracket

FRONT RIGHT (SUB FOR AT107479)

1шт.

AT147443

Bracket

FRONT LEFT (NOT ILLUSTRATED)

1шт.

7

24M7241

Washer

17 X 34 X 4 mm

4шт.

8

19H2588

Cap Screw

5/8" X 1-7/8"

4шт.

19M7489

Cap Screw

M16 X 45

4шт.

9

AT102326

Isolator

4шт.

10

14M7300

Flange Nut

M20

4шт.

Выбрано товаров: 13