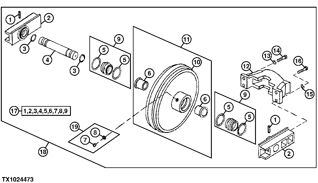
Запчасти John Deere 90ELC 2 - Front Idler 0130 Track Systems

Схема запчастей John Deere 90ELC - 2 - Front Idler 0130 Track Systems
FIT
1:1
100%

Артикул

Название

Примечание

Количество

1

T139464

Spring Pin

2шт.

2

T139465

Support

2шт.

3

T139636

O-Ring

2шт.

4

T139463

Shaft

1шт.

5

Seal

(SUB AT159764)

4шт.

6

T139442

Bushing

2шт.

7

Fitting Plug

( T139447 NLA)

1шт.

8

R27976

O-Ring

1шт.

9

AT168635

Seal

(SUB FOR AT159764)

2шт.

10

Idler

(SUB AT152095)

1шт.

11

AT152095

Roller Shell

1шт.

12

T139458

Fork

1шт.

13

12M7069

Lock Washer

16 mm TRACK ADJUSTING CYLINDER MOUNTING

2шт.

14

19M7369

Cap Screw

M16 X 60 TRACK ADJUSTING CYLINDER MOUNTING

2шт.

15

12M7058

Lock Washer

12 mm (SUB FOR 12M7067)

4шт.

16

19M7744

Cap Screw

M12 X 35

4шт.

17

AT152096

Track Idler

1шт.

18

AT152097

Track Idler

1шт.

19

AT341124

Fitting

1шт.

Выбрано товаров: 19