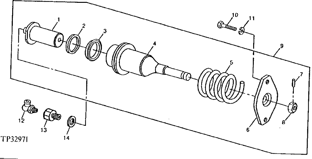
Запчасти John Deere 90ELC 3 - TRACK ADJUSTING CYLINDER AND IDLER SPRING ASSEMBLY 0130 Track Systems

Схема запчастей John Deere 90ELC - 3 - TRACK ADJUSTING CYLINDER AND IDLER SPRING ASSEMBLY 0130 Track Systems
FIT
1:1
100%

Артикул

Название

Примечание

Количество

1

T139456

Piston

1шт.

2

T139457

Seal

1шт.

3

AT152109

Seal

1шт.

4

AT157934

Cylinder

(SUB FOR AT147471)

1шт.

AT157934

Cylinder

1шт.

5

T139455

Spring

1шт.

6

T143341

Plate

1шт.

7

34M3871

Spring Pin

6 X 55 mm (SUB FOR T42684)

1шт.

8

T143342

Nut

1шт.

9

AT157933

Spring

(SUB FOR AT147353)

1шт.

AT157933

Spring

1шт.

10

19M7489

Cap Screw

M16 X 45 (SUB FOR 19M7396)

2шт.

11

12M7069

Lock Washer

16 mm

2шт.

12

JD7781

Lubrication Fitting

1шт.

13

AT152154

Check Valve

1шт.

14

AT48016

Seal

1шт.

Выбрано товаров: 0