Запчасти John Deere 90ELC 182 - Windshield Washer ( - 551837) 1810 Operator Enclosure

Схема запчастей John Deere 90ELC - 182 - Windshield Washer ( - 551837) 1810 Operator Enclosure
FIT
1:1
100%

Артикул

Название

Примечание

Количество

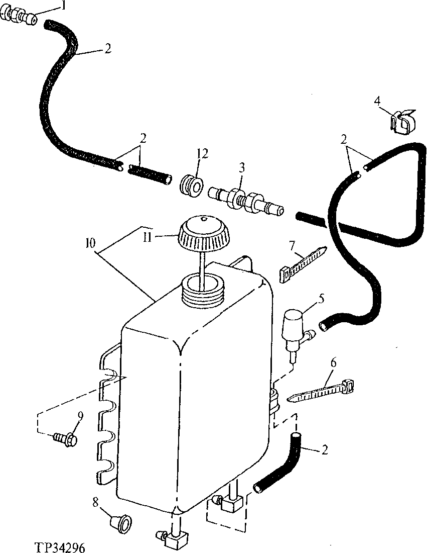
1

4282793

Nozzle

(SUB FOR AT154358)

1шт.

2

Bulk Hose

(SUB FOR R54445 AND R104595 )( R120653 NLA) (MF TY25139)

ARшт.

3

AN193774

Union Fitting

1шт.

4

T119748

Clip

(HOSE TO ENGINE COVER SUPPORTS)

4шт.

5

AT106365

Pump

1шт.

6

H77698

Tie Band

(PUMP AND WIRING HARNESS TO TANK WIRING HARNESS TO HOSE NEAR HINGE)

1шт.

7

R44302

Tie Band

(WIRING HARNESS TO HOSE NEAR H INGE) (BOTTLE-TO-HOSE CONNECTIO N TO MIDDLE OF BRACE BEHIND CAB )

2шт.

8

T140903

Plug

1шт.

9

19M7865

Screw

M8 X 16

4шт.

10

T147618

Tank

(SUB FOR T129505)

1шт.

11

AT106413

Cap

1шт.

12

4287903

Grommet

(SUB FOR AT154413)(HOSE IN RIGHT REAR CAB CORNER)

1шт.

Выбрано товаров: 0