Запчасти John Deere 90ELC 250 - Main Hydraulic Control Valve ( - 556935) 2160 HYDRAULIC SYSTEM

Схема запчастей John Deere 90ELC - 250 - Main Hydraulic Control Valve ( - 556935) 2160 HYDRAULIC SYSTEM
FIT
1:1
100%

Артикул

Название

Примечание

Количество

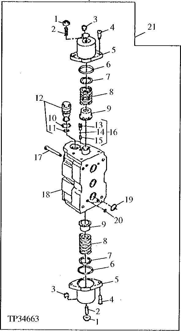
1

T107964

Nut

2шт.

2

T115243

Screw

2шт.

3

AT112756

Check Valve

2шт.

4

19M7660

Screw

M8 X 20

4шт.

5

T153022

Cushion Cover

(SUB FOR T139568)

2шт.

6

T153023

O-Ring

(SUB FOR T72221, THIS APPLICATION)

2шт.

7

Shim

(USE KIT AT152046)

2шт.

8

T139567

Spring

2шт.

9

T107943

Cap

2шт.

10

T74549

O-Ring

2.4 MM (0.094")

1шт.

T139571

O-Ring

3.0 MM (0.118")

1шт.

11

R80632

O-Ring

1.78 MM (0.07")

1шт.

12

AT125520

Check Valve

3шт.

13

Valve Seat Insert

(SUB AT156518)

2шт.

14

Ball

(SUB AT156518)

2шт.

15

Spring

(SUB AT156518)

2шт.

16

AT156518

Pressure Relief Valve

RELIEF

2шт.

17

19M8354

Screw

M10 X 80

4шт.

18

Housing

(SUB AT169478)

1шт.

19

R61871

O-Ring

6шт.

20

T107877

O-Ring

4шт.

21

AT169478

Hyd Actuated Control Valve

SWING (SUB FOR AT152049)

1шт.

Выбрано товаров: 22