Запчасти John Deere 90ELC 252 - MAIN HYDRAULIC CONTROL VALVE MANIFOLD ASSEMBLY ( - 556935) 2160 HYDRAULIC SYSTEM

Схема запчастей John Deere 90ELC - 252 - MAIN HYDRAULIC CONTROL VALVE MANIFOLD ASSEMBLY ( - 556935) 2160 HYDRAULIC SYSTEM
FIT
1:1
100%

Артикул

Название

Примечание

Количество

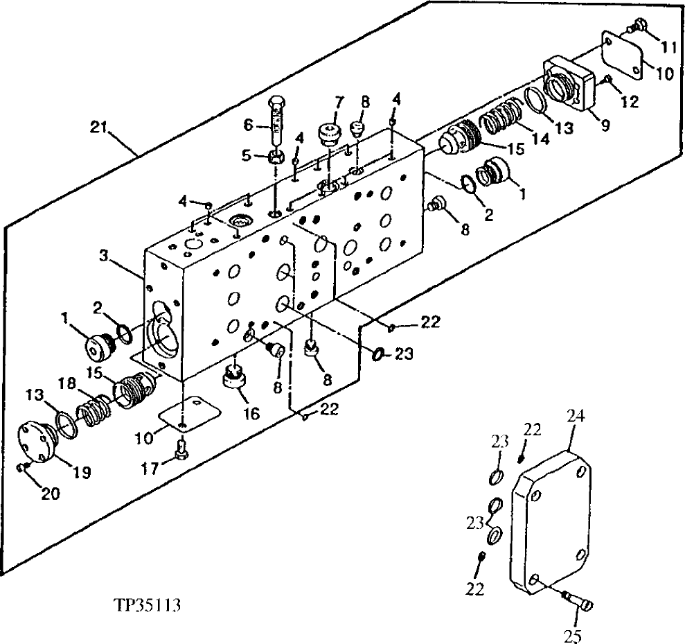
1

T139561

Plug

2шт.

2

T139560

O-Ring

30 X 2 mm (1.181" X 0.079")

2шт.

3

Manifold

1шт.

4

15M7032

Pipe Plug

21шт.

5

T139732

Nut

1шт.

6

T139733

Screw

1шт.

7

AT125519

Plug

1шт.

R29936

O-Ring

(NOT ILLUSTRATED)

1шт.

8

Plug

( AT152045 NO LONGER AVAILABLE)

4шт.

9

Cushion Cover

( T139563 NO LONGER AVAILABLE)

1шт.

10

Plate

2шт.

11

Screw

2шт.

12

19M7600

Screw

M5 X 12

2шт.

13

T139575

O-Ring

39.200 X 3 mm (1.543" X 0.118")

2шт.

14

T107853

Spring

1шт.

15

T107939

Poppet

2шт.

16

AT106386

Fitting Plug

1шт.

Seal

( Z43629 NLA) (NOT ILLUSTRATED)

1шт.

17

Screw

2шт.

18

T152640

Spring

1шт.

19

Cushion Cover

( T139564 NO LONGER AVAILABLE)

1шт.

20

Cap Screw

( 19M8187 NO LONGER AVAILABLE)

4шт.

21

AT152044

Plate

1шт.

22

T107877

O-Ring

4шт.

23

T107888

O-Ring

6шт.

24

T107942

Cover

1шт.

25

19M8169

Screw

M12 X 30

4шт.

Выбрано товаров: 27