Запчасти John Deere 90ELC 253 - Main Hydraulic Control Valve ( - 556935) 2160 HYDRAULIC SYSTEM

Схема запчастей John Deere 90ELC - 253 - Main Hydraulic Control Valve ( - 556935) 2160 HYDRAULIC SYSTEM
FIT
1:1
100%

Артикул

Название

Примечание

Количество

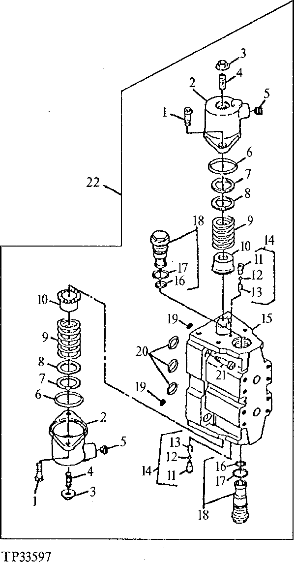
1

19M7660

Screw

M8 X 20

4шт.

2

T153022

Cushion Cover

(SUB FOR T139568)

2шт.

3

T107964

Nut

2шт.

4

T115243

Screw

2шт.

5

AT112756

Check Valve

2шт.

6

T153023

O-Ring

(SUB FOR T72221, THIS APPLICATION)

2шт.

7

Shim

(USE KIT AT152046)

2шт.

8

Shim

(USE KIT AT152046)

2шт.

9

T139567

Spring

2шт.

10

T107943

Cap

2шт.

11

Valve Seat Insert

(SUB AT156518)

2шт.

12

Ball

(SUB AT156518)

2шт.

13

Spring

(SUB AT156518)

4шт.

14

AT156518

Pressure Relief Valve

4шт.

15

Housing

(SUB AT169479)

1шт.

16

R80632

O-Ring

1.78 MM (0.07")

1шт.

17

T74549

O-Ring

2.4 MM (0.094")

1шт.

T139571

O-Ring

3.0 MM (0.118")

1шт.

18

AT125520

Check Valve

( 0.7 BAR )

2шт.

AT164365

Check Valve

( 2.0 BAR )

2шт.

19

T107877

O-Ring

2шт.

20

R61871

O-Ring

3шт.

21

19M8211

Screw

M10 X 45

4шт.

22

AT169479

Hyd Actuated Control Valve

RIGHT AND LEFT PROPEL (SUB FOR AT152048)

2шт.

Выбрано товаров: 24