Запчасти John Deere 90ELC 255 - Main Hydraulic Control Valve (546277 - 556935) 2160 HYDRAULIC SYSTEM

Схема запчастей John Deere 90ELC - 255 - Main Hydraulic Control Valve (546277 - 556935) 2160 HYDRAULIC SYSTEM
FIT
1:1
100%

Артикул

Название

Примечание

Количество

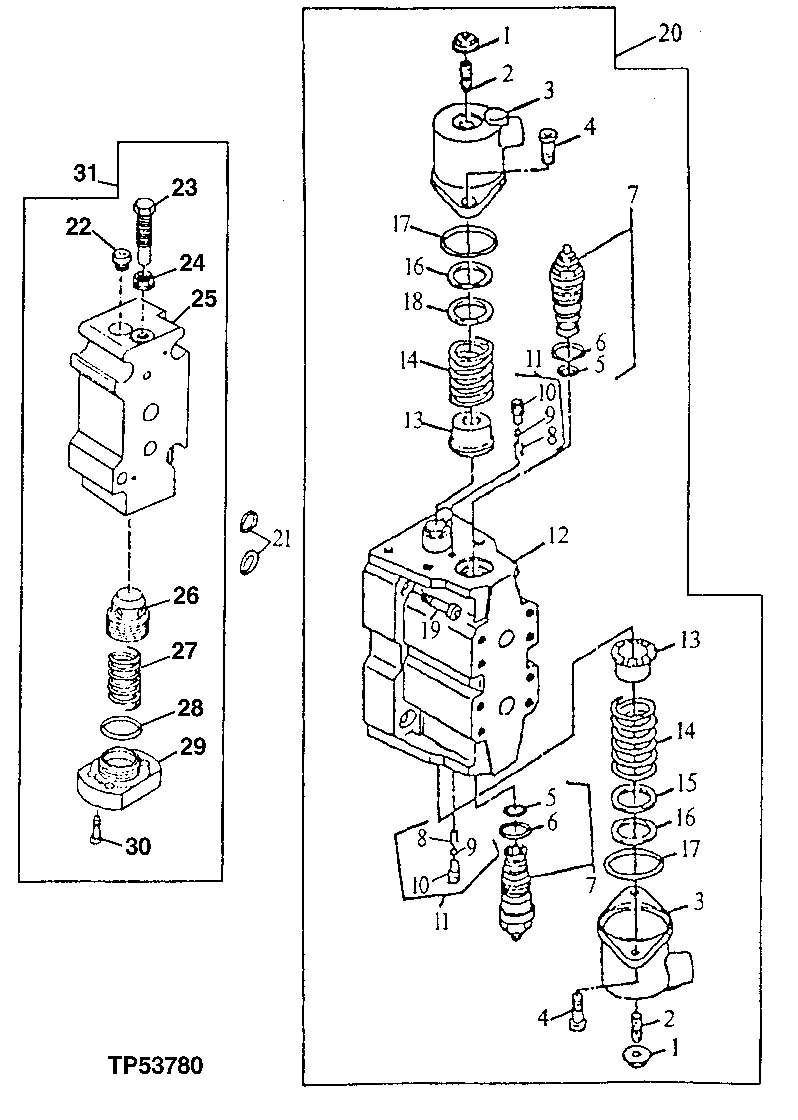
1

T107964

Nut

2шт.

2

T115243

Screw

2шт.

3

T153020

Cushion Cover

(SUB FOR T139570)

2шт.

4

19M7660

Screw

M8 X 20

4шт.

5

N31772

O-Ring

2шт.

6

T139571

O-Ring

2шт.

7

AT152054

Pressure Relief Valve

2шт.

8

Spring

(SUB AT156518)

2шт.

9

Ball

(SUB AT156518)

2шт.

10

Valve Seat Insert

(SUB AT156518)

2шт.

11

AT156518

Pressure Relief Valve

2шт.

12

Housing

(SUB AT169476)

1шт.

13

T107944

Cap

2шт.

14

T139569

Spring

2шт.

15

Shim

(USE KIT AT152047)

1шт.

16

Shim

(USE KIT AT152047)

2шт.

17

T153021

O-Ring

(SUB FOR T107880, THIS APPLICATION)

2шт.

18

Shim

(USE KIT AT152047)

1шт.

19

19M8442

Screw

M12 X 100

4шт.

20

AT169476

Hyd Actuated Control Valve

ARM (SUB FOR AT152055)

1шт.

21

R61871

O-Ring

2шт.

22

TH104732

Fitting Plug

(SUB FOR 0230126)

1шт.

23

Cap Screw

(SUB AT167974)

1шт.

24

T104110

Nut

1шт.

25

Plate

(SUB AT167974)

1шт.

26

AT179824

Hyd Actuated Control Valve

(SUB FOR T107939, THIS APPLICATION)

1шт.

27

Compression Spring

(SUB AT167974)

1шт.

28

T139575

O-Ring

39.200 X 3 mm (1.543" X 0.118")

1шт.

29

Cover

(SUB AT167974)

1шт.

30

19M8627

Screw

M6 X 20

4шт.

31

AT167974

Plate

ARM REGENERATION

1шт.

Выбрано товаров: 0