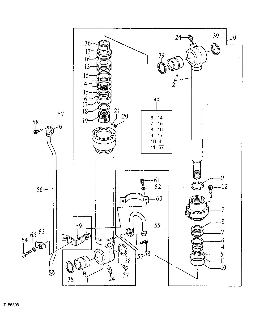
Запчасти John Deere 90ELC 384 - SUPER LONG FRONT BUCKET CYLINDER 3360 HYDRAULIC SYSTEM

Схема запчастей John Deere 90ELC - 384 - SUPER LONG FRONT BUCKET CYLINDER 3360 HYDRAULIC SYSTEM
FIT
1:1
100%

Артикул

Название

Примечание

Количество

0

4287889

Cylinder

(SUB FOR AT159611, 4298371) (BUCKET) (SUPER LONG FRONT)

1шт.

1

4298372

Hydraulic Cylinder Barrel

(SUB FOR AT159612)

1шт.

1B

0310513

Bushing

(SUB FOR TH109383)

1шт.

2

4298373

Rod

(SUB FOR AT159614)

1шт.

2B

4S00353

Bushing

(SUB FOR TH109329)

1шт.

3

0409103

Cylinder Head

(SUB FOR AT153948)

1шт.

4

AT264389

Wear Ring

(SUB FOR TH109372)

1шт.

5

4510494

Snap Ring

(SUB FOR TH106169)

1шт.

6

Ring

1шт.

7

AT264374

Seal

(SUB FOR TH105764)

1шт.

8

AT264375

Back-Up Ring

(SUB FOR TH105765)

1шт.

9

H158164

Scraper Ring

(SUB FOR TH105763)

1шт.

10

CH18696

Packing

1шт.

11

AT264391

Back-Up Ring

(SUB FOR TH109374)

1шт.

12

0408805

Screw

(SUB FOR AT153915)

12шт.

13

H158173

Piston

(SUB FOR AT153950, 0409106)

1шт.

14

AT264392

Ring

(SUB FOR TH109376)

1шт.

15

Back-Up Ring

2шт.

16

AT264393

Ring

(SUB FOR TH109377, 4S00138)

2шт.

17

AT264394

Ring

(SUB FOR TH109378)

2шт.

18

TH110253

Shim

(SUB FOR 0326007)

1шт.

19

0409108

Nut

(SUB FOR AT153952)

1шт.

20

22M7139

Set Screw

M10 X 10

1шт.

21

400R

Ball

1шт.

24

TH100074

Lubrication Fitting

2шт.

36

0409109

Bearing

(SUB FOR AT153953)

1шт.

37

19M8017

Cap Screw

M12 X 20 (SUB FOR AT153954 ) (SUB FOR AT131538 OR J901218)

2шт.

38

TH105979

Seal

(SUB FOR AT153955)

2шт.

39

TH100374

Seal

(SUB FOR AT153956)

2шт.

40

AT196469

Seal Kit

(SUB FOR 4369766)

1шт.

55

4S00341

Line

(SUB FOR AT159616)

1шт.

56

0437004

Oil Line

(SUB FOR AT159617)

1шт.

57

O-Ring

(SUB FOR TH103574 ) (SUB 0976602)( AT264354 NSEP)

2шт.

58

19M8439

Screw

M8 X 25

8шт.

59

0409115

Band

(SUB FOR AT153959)

1шт.

60

0409116

Band

(SUB FOR AT153960)

1шт.

61

19M7550

Cap Screw

M10 X 35 (SUB FOR AT153924)

2шт.

62

12M7066

Lock Washer

10 mm

2шт.

63

0310616

Clamp

(SUB FOR TH109386)

1шт.

64

19M7496

Cap Screw

M12 X 45 (SUB FOR AT133624)

1шт.

65

12M7058

Lock Washer

12 mm (SUB FOR 12M7067)

1шт.

AT196469

Seal Kit

INCLUDES ALL (K) PARTS ( SEAL) (SUB FOR AT163911)

1шт.

Выбрано товаров: 42