Запчасти John Deere 90ELC 70 - Water Pump Assembly (704569 - ) 0417 Water Pump 6068TDW07, 6068TDW56 6068TDW07, 6068TDW56

Схема запчастей John Deere 90ELC - 70 - Water Pump Assembly (704569 - ) 0417 Water Pump 6068TDW07, 6068TDW56 6068TDW07, 6068TDW56
FIT
1:1
100%

Артикул

Название

Примечание

Количество

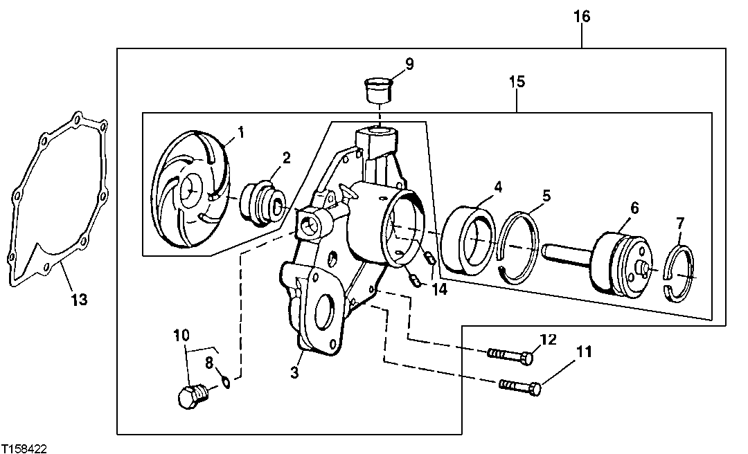
1

Impeller

1шт.

2

Seal

1шт.

3

Housing

1шт.

4

Ball Bearing

1шт.

5

Ring

1шт.

6

Shaft

1шт.

7

A364R

Snap Ring

1шт.

8

51M7043

O-Ring

15.300 X 2.200 mm

1шт.

9

R123226

Seal

1шт.

10

RE46685

Fitting Plug

1шт.

11

19M7863

Screw

M6 X 25

5шт.

12

19M7796

Screw

M6 X 30

3шт.

13

R123417

Gasket

1шт.

14

R98527

Filter

(USE WITH RE70985)

2шт.

R100369

Filter

(USE WITH RE500734)

2шт.

15

RE70962

Engine Kit

(SUB FOR RE65970 ) (USE WITH RE59646 OR RE500734)

1шт.

RE509813

Engine Kit

(USE WITH RE505980)

1шт.

16

RE500734

Water Pump

(MARKED R500401) (SUB FOR RE70985 ) (M ARKED R121035) (SUB FOR RE59646) (MARKE D R121035) (SUB RE505980 AND RE508566)

1шт.

RE505980

Water Pump

1шт.

SE501609

Water Pump Reman

(REMAN FOR RE505980)

1шт.

Выбрано товаров: 20